Behovet for at varme et landsted eller sommerhus medfører ofte vanskeligheder forbundet med store økonomiske omkostninger samt behovet for en lang og kompleks installation. Der er dog også alternative løsninger. Overvej en af de mest bekvemme og populære muligheder i dag - en gaskonvektor på flaske: priser, modelegenskaber og driftsfunktioner vil blive præsenteret i artiklen.
Indhold
- 1 Hvad bruges en gasflaskegaskonvektor til?
- 2 Hvordan fungerer en gaskonvektor til opvarmning?
- 3 Sådan beregnes strøm og gasforbrug for en flaskegaskonvektor
- 4 Gaskonvektor på flaskegas: priser på varmeanordninger
- 5 Oversigt over modeller af gaskonvektorer på naturgas: priser, anmeldelser og egenskaber
- 6 Gør-det-selv gaskonvektorinstallation: video og tip til installation
Hvad bruges en gasflaskegaskonvektor til?
Gasvarmekonvektorer har længe været brugt af indbyggerne i Europa som et af de mest økonomiske udstyr til rumopvarmning. De kører på naturgas, eliminerer behovet for gammeldags komfurudstyr og reducerer samtidig varmeomkostningerne. Ved første øjekast kan det virke som om det er lettere at installere en gaskedel, men i virkeligheden vil køb af en konvektor reducere budgettet til opvarmning betydeligt.
Naturgaskonvektorer kan ikke kaldes et universalmiddel, fordi de kun er i stand til at opretholde den ønskede temperatur i et lille hus, anneks eller garage. Faktisk, hvis du ikke bruger opvarmning om vinteren, men for eksempel om foråret eller efteråret, vil dette være helt nok til at opretholde en behagelig temperatur i rummet, og der er ikke brug for en højeffektiv enhed.
En gaskonvektor til opvarmning er den bedste vej ud, hvis huset ikke er tilsluttet et centraliseret strømforsyningssystem, eller der ofte er strømfald i netværket. Således kan du sikre konstant autonom opvarmning af dit hjem. Desuden er denne metode flere gange mere økonomisk.
Der er modeller af varmeapparater, der oprindeligt giver mulighed for at bruge flydende gas som brændstof, men for mange modeller er det nødvendigt at købe en speciel adapter. Den samme gasflaske kan under ordentlige opbevaringsforhold placeres direkte i huset.
Nyttige råd! Flydende gas i en cylinder kan opbevares udendørs. For at gøre dette skal du først bygge et metalkabinet til det.
Hvordan fungerer en gaskonvektor til opvarmning?
En af de største fordele, som en gaskonvektor, der fungerer på flaskegas, kan prale af, er at dens effektivitet når næsten 90%. Samtidig er ordningen for dens drift meget enkel: gasforbrænding sker i et specielt kammer, hvor der konstant tilføres frisk luft fra miljøet. Dette opretholder en flamme, der varmer varmeveksleren op.
Til gengæld kold luft fra rummet, der kommer ind i konvektoren, kolliderer med varmeveksleren og varmes op. Varm luft kommer ind i rummet igen gennem specielle lameller monteret øverst på enheden. Cyklussen gentages konstant og slutter kun, når enhedens indikator når det indstillede mærke.
Her er det vigtigt at være opmærksom på tilstedeværelsen af en højkvalitets termostat, da det er ham, der giver dig mulighed for at forhindre overophedning af luften i rummet og økonomisk bruge gasreserver. Evnen til at indstille den ønskede lufttemperatur er en anden fordel ved at bruge netop denne enhed.
Nyttige råd! For at undgå indtrængning af forbrændingsprodukter i luften er det nødvendigt at foretage en særlig udgang til skorstenen.
Sådan beregnes strøm og gasforbrug for en flaskegaskonvektor
Det første kriterium, der bestemmer valget af en konvektor: er det planlagt at blive brugt som hovedvarmekilde eller som en ekstra. Lad os overveje begge muligheder.
Hvis gaskonvektoren er den vigtigste varmekilde, der opvarmer rummet, bruges 40 W / m³ til beregninger. Det betyder, at der skal bruges 40 W elektrisk strøm til at opvarme 1 m³ plads. Yderligere beregninger er ekstremt enkle: rumets volumen ganges med 40, og enhedens krævede effekt findes.
Du kan ofte finde en anden formel til beregning: 100 W / m². Ved første øjekast ser det ud til, at det er meget lettere at beregne på denne måde, men det er forkert at gøre dette. Loftshøjden i landhuse kan være meget forskellig, og hvis du ikke tager det i betragtning i beregningerne, kan den købte enhed i sidste ende muligvis ikke klare opgaven.
Som et eksempel beregner vi den krævede effekt af enheden til et rum med et areal på 25 m² og en lofthøjde på 3,2 m. Ved hjælp af formlen får vi: 25x3,2x40 = 3200 W.
Hvis den krævede effekt er for høj, og du ikke kan finde en passende enhed til salg, er det fornuftigt at købe to eller flere enheder og placere dem under vinduerne.
Placering af konvektorer under vinduer er en af de bedste muligheder, da de på grund af deres evne til at afskære kold luft fra vinduet hjælper med at opretholde den ønskede rumtemperatur endnu bedre.
Den anden mulighed for at bruge konvektoren er mere almindelig end den første. I dette tilfælde bruges enheden som en ekstra varmekilde og fungerer sammen med andre enheder, når deres strøm ikke er tilstrækkelig. Så i svær frost kan det være nødvendigt at tænde konvektoren for at skabe en behagelig temperatur i rummet.
Hvis du planlægger at bruge konvektoren til netop dette formål, skal beregningerne foretages ud fra følgende indikatorer - 25-35 W / m³. Her forbliver alle anbefalinger de samme, og beregningsformlen ændres ikke. For eksempel, for et rum på 25 m² med en lofthøjde på 3,2 m, vil beregningen se sådan ud: 25x3,2x30 = 2400 W.
Hvis vi taler om gasforbruget af en gaskonvektor om dagen, kan indikatorerne her være meget forskellige afhængigt af mange forskellige faktorer.Som en retningslinje anvendes en værdi svarende til 0,09 kg flaskeholdig flydende gas pr. 1 kW enhedens termiske effekt.
Gaskonvektor på flaskegas: priser på varmeanordninger
Inden du køber en gasvarmekonvektor, skal du forstå, hvad der udgør prisen, og hvorfor nogle modeller måske koster mere end andre. Først og fremmest afhænger det af det materiale, som varmeveksleren er fremstillet af, samt nogle designfunktioner. Kvaliteten af de enheder, der bruges til at kontrollere temperaturen, kan også påvirke omkostningerne.

Omkostningerne ved en gasvarmer kan afhænge af kroppens materiale, termostatens kvalitet og funktionalitet.
Nyttige råd! Sørg for at være opmærksom på, at al dokumentation vedrørende yderligere vedligeholdelse af enheden er udført korrekt. Ellers skal du selv reparere gaskonvektoren eller ansætte en specialist for egen regning.
En varmeveksler lavet af støbejern er meget dyrere end en stål. Dens levetid er garanteret i 50 år. Så i dette tilfælde vil affaldet være berettiget. Med hensyn til designfunktionerne betyder dette tilstedeværelsen af en lodret eller vandret skorsten.
I dette tilfælde er der ingen grundlæggende forskel, men det er værd at starte med, at lodrette systemer, selvom de har høj effekt, ikke kan installeres overalt. For eksempel for et soveværelse er dette ikke en passende mulighed på grund af den store mængde forbrændt gas.
En anden faktor, der påvirker enhedens pris, er tilstedeværelsen af en ventilator. En gaskonvektor med en ventilator sikrer en mere intens luftcirkulation i rummet. Samtidig vil prisen på en gasvægskonvektor ikke afvige for meget fra en gulvmodel med de samme parametre.
Den gennemsnitlige pris for denne type enhed spænder fra 20-30 tusind rubler. Du kan dog finde både billige modeller til 10-12 tusind rubler og dyrere enheder. Det hele afhænger af strømmen og tilgængeligheden af yderligere funktioner. Flere detaljer om priserne på specifikke konvektorer diskuteres nedenfor.
Oversigt over modeller af gaskonvektorer på naturgas: priser, anmeldelser og egenskaber
Priserne på naturgaskonvektorer såvel som deres sort er ikke begrænset af noget. Derfor er det i dag ikke svært at vælge den rigtige mulighed. Overvej de mest populære modeller af gasvarmer til sommerhuse. Konvektorer fra disse producenter modtager næsten altid kun godkendende anmeldelser.
Gaskonvektorer Alpine Air
Vægmonterede gaskonvektorer med tyrkisk produktion indtager en af de førende positioner på det moderne marked. De er praktiske, kompakte, effektive og overkommelige. For at få et komplet billede af det foreslåede produkt skal du overveje flere modeller i form af en sammenligningstabel.
| Konvektormodel | Mål, mm | Vægt, kg | Strøm, W | Gasforbrug m³ / time | Skorstenens diameter, mm | Indbygget blæser | Varmeveksler | pris, gnid. |
| Alpine Air NGS-20 | 630x455x220 | 22 | 2200 | 0,24 | 150 | ingen | støbejern | 17000 |
| Alpine Air NGS-30F | 360x455x220 | 22 | 3000 | 0,32 | der er | 19200 | ||
| Alpine Air NGS-50 | 630x605x220 | 30 | 4900 | 0,51 | ingen | 20000 | ||
| Alpine Air DT-5000 | 550x607x310 | 20 | 5000 | 0,46 | ingen | stål | 11900 |
Enhver af disse modeller kan vælges til hjemmebrug. Den mest passende mulighed skal vælges med fokus på det område i rummet, der skal opvarmes, såvel som dine egne økonomiske muligheder.
Nyttige råd! Du bør ikke købe for kraftig enhed til et lille rum. Dette giver intet andet end overophedning af luft og overdreven gasforbrug.
Hosseven gaskonvektor
Gaskonvektor Нosseven HDU 3 er måske den mest populære repræsentant for dette tyrkiske firma i vores land. Med en gennemsnitlig pris på ca. 22.850 rubler har den en ret anstændig effekt på 3000 W og er en værdig konkurrent til lignende modeller. Enhedsparametre:
- dimensioner: 635x470x270 mm;
- vægt: 23,8 kg;
- forbrændingskammer: støbejern;
- der er ingen indbygget blæser i enheden.
Et træk ved dette design er, at luftindtaget udføres gennem et specielt vandret teleskoprør, der er forbundet til konvektoren fra bagsiden. Apparatet absorberer således ikke ilt inde i rummet og har ikke brug for en traditionel skorsten.
Gaskonvektor på flaskegas: anmeldelser og fordele ved brugen
Hvis vi opsummerer alle de overvejede oplysninger og også tager højde for anmeldelserne, kan gaskonvektorer ganske tilskrives de bedste muligheder for at løse problemet, både med hovedvarme og yderligere opvarmning. Blandt dens fordele er:
- fuld autonomi, uafhængighed af strømforsyning eller anden kommunikation
- nem installation sammenlignet med gaskedler;
- brugsøkonomi og lave brændstofomkostninger
- der er ikke behov for at udstyre et særligt kedelrum til installation af enheden;
- der er ingen grund til at være bange for, at vandet i systemet fryser;
- processen med at opvarme luften til den krævede temperatur sker meget hurtigt.
Omsorg for denne type enhed kan også tilskrives deres fordele. Enkelheden i designet tillader om nødvendigt at reparere gaskonvektoren med egne hænder, hvis garantiperioden allerede er udløbet. Det vil dog være mere sikkert at søge hjælp fra specialister for at undgå mulige problemer med gaslækager osv.
Gør-det-selv gaskonvektorinstallation: video og tip til installation
For at udføre arbejde på installationen af en vægmonteret gaskonvektor uden inddragelse af specialister har du brug for et antal værktøjer og evnen til at bruge dem:
- bore med øvelser;
- perforator med krone;
- skruetrækkere;
- polyurethanskum;
- skruenøgler med passende diametre
- dyvler og skruer af plast;
- konvektor;
- gascylinder;
- gasforsyningssæt.
Først og fremmest skal du beslutte dig for det sted, hvor du planlægger at installere enheden. Der er krav fastsat af GOST: hvis det er muligt, skal gaskonvektoren installeres under vinduet. Hvis det på grund af layoutets særegenheder ikke er muligt, er det nødvendigt at placere det så tæt på vinduet som muligt.
Nyttige råd! Det er vigtigt ikke kun at vælge et sted, men også at sikre, at den konvektormodel, du har købt, passer der og ikke forstyrrer møbler eller fri bevægelighed rundt i rummet.
Derefter kan du fortsætte med at måle og markere de nødvendige huller. Til dette bruges et målebånd og en blyant. Det vigtigste punkt på dette stadium er klart at bestemme, hvor gasindløbet skal placeres, hvis du planlægger at installere cylinderen i et andet rum eller udendørs.
Bor de krævede huller, og kør dyvlerne ind i dem. Fastgør konvektoren til væggen ved hjælp af selvskærende skruer. Forsegl revner og åbninger ved hjælp af polyurethanskum, der kan være en kilde til kold luft. Derefter kan du gå direkte til forbindelsen af gasflasken til konvektoren.

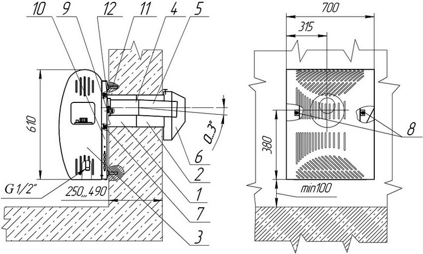
Installation af konvektor. 1 - grenrør til luftkanal; 2 - luftkanalsektion 3 - konvektor; 4 - skorstensrør; 5 - skorstensafsnit; 6 - beskyttende grill; 7 - fugemasse; 8 - fastgørelsesmøtrik til varmeveksler; 9 - monteringsbolt; 10 - monteringsplade; 11 - monteringsbøsning; 12 - selvskærende skrue
Installationen af en gaskonvektor afsluttes med en testkørsel, der først udføres, når du har sørget for, at alle samlinger er tætte, og at der ikke er gasudslip nogen steder. Efter den første opstart skal du sørge for at justere enheden.
Nyttige råd! I løbet af de første par driftstimer brænder kameraet ud, og du kan lugte brændende olie.Dette er ikke farligt og kan let elimineres ved at ventilere rummet.
Så hvis du beslutter at købe en flaskegaskonvektor, har du et vanskeligt valg. Før du køber, skal du sørge for at udføre alle de nødvendige beregninger og beslutte, hvilken type enhed der er bedst egnet til dig. Derefter vil du være i stand til at træffe det rigtige valg og give dit hjem, garage eller udvidelse varme i den kolde årstid.














