Der Artikel beschreibt das bequemste und praktischste Zubehör für eine Garage mit eigenen Händen, das den Komfort bei der Nutzung dieses Raums verbessern kann. Hier finden Sie detaillierte Empfehlungen für die Entwicklung und Schaffung von Strukturen zur bequemen Aufbewahrung von Werkzeugen und Autoteilen, Ratschläge zur Herstellung von Möbeln sowie zur Anordnung von Beleuchtungs- und Heizungssystemen.

Durch die ordnungsgemäße Organisation der Lagerung von Werkzeugen und Ersatzteilen wird die Garage funktionsfähiger
Inhalt
- 1 Nützliches DIY-Garagenzubehör: Allgemeine Empfehlungen
- 2 DIY-Garagenregaloptionen: Fotos und Tipps zum Anordnen von Stauräumen
- 3 Organisation des Beleuchtungs- und Heizungssystems in der Garage
- 3.1 Merkmale von Halogen-, Leuchtstofflampen und LED-Garagenleuchten
- 3.2 Installation der Beleuchtung in der Garage: Berechnung
- 3.3 Autonomes Beleuchtungssystem zum Selbermachen in der Garage
- 3.4 So wählen Sie eine Heizung für eine Garage
- 3.5 Empfehlungen für die Montage einer hausgemachten Garagenheizung
- 4 DIY nützliche Garagenvorrichtungen
Nützliches DIY-Garagenzubehör: Allgemeine Empfehlungen
Die Garage ist nicht nur zur Lagerung, sondern auch zur Fahrzeugwartung vorgesehen. Aus diesem Grund sollte dieses Zimmer geräumig, sauber, komfortabel und gut ausgestattet sein.
Um all dies zu erreichen, reicht es aus, die Grundvoraussetzungen für die Organisation des Raums zu berücksichtigen:
- Das Vorhandensein von Reifenregalen und die Aufbewahrung von Werkzeugen spart erheblich freien Platz und ermöglicht es Ihnen, den Platz zu optimieren.
- Die Qualität der Beleuchtung ist von großer Bedeutung, da nicht nur die Produktivität davon abhängt, sondern auch die Qualität kleinerer Reparaturen.
- Der Bau einer Werkstattwerkstatt, Werkzeugmaschinen, eines Sichtlochs und anderer Vorrichtungen erweitert die Möglichkeiten für einen Autobesitzer in Bezug auf die Reparatur und Wartung von Fahrzeugen.
Hilfreicher Tipp! Alle diese Elemente sollten nicht mehr als 10-20% der Garagenfläche einnehmen.

Optimale Organisation des Lagersystems in der Garage: 1 - offene Halterungen und Haken für häufig verwendete Werkzeuge, 2 - ein Gestell für kleine Werkzeuge, 3 - Regale für Ersatzteile und Reifen, 4 - ein Gestell für große Werkzeuge, 5 - Schränke für verschiedene Dinge, 6 - Werkbank mit zusätzlichen Regalen
DIY-Garagenregaloptionen: Fotos und Tipps zum Anordnen von Stauräumen
Etwa 80% der Regale in der Garage sind für die Aufbewahrung von Garagenzubehör selbst konstruiert, nämlich:
- Werkzeuge und Zubehör;
- Bestandteile für das Auto;
- Zubehör.
Oft finden Sie auf dem Foto von Regalen in der Garage mit Ihren eigenen Händen ihre Kombination mit einem Gestell, das Sie auch selbst herstellen können. In den meisten Fällen wird das Rack als Hauptlagerplatz für Werkzeuge angesehen. Nach der Installation wird der verbleibende Raum mit komfortablen und geräumigen Regalen gefüllt.
Stellen Sie sicher, dass Sie einen Platz zum Aufbewahren Ihrer Arbeitskleidung zuweisen. Es ist nicht notwendig, eine große Fläche einzunehmen, Sie können mit einem Regal oder sogar einer Häkelarbeit auskommen (je nach Ihren Bedürfnissen).

Ein offener Ständer mit Halterungen kann verwendet werden, um häufig verwendete kleine Werkzeuge zu platzieren
Eine Garage ist ein Ort, an dem gefährliche und brennbare Substanzen gelagert werden. Dazu gehören Öl, Benzin, Lösungsmittel, Farben, Polituren. Für sie ist es notwendig, einen separaten Schrank vorzusehen, einen Feuerlöscher aufzuhängen und einen Tank mit Sand zu installieren.
Zum Schutz vor Kontamination während der Lagerung von Rädern, die an Reifenhalterungen montiert sind, lohnt es sich, große Taschen oder spezielle Abdeckungen zu kaufen, um das Eindringen von Staub zu verhindern.
Halterungen und Regale für Räder in der Garage: Designmerkmale
Die sperrigsten Ersatzteile eines Fahrzeugs sind Gummisätze, die Winter oder Sommer sein können. Wenn eine Winterversion verwendet wird, werden Sommerreifen normalerweise in der Garage gelagert und umgekehrt. Daher sollten Sie Regale für die Aufbewahrung von Reifen oder Halterungen organisieren.
Das Halterungsdesign ist wie folgt:
- Zwei dreieckige Rahmen aus Ecken. Zwischen diesen Rahmen sind Jumper aus dauerhaftem Metall installiert.
- Die dreieckigen Teile der Struktur werden an einer vorgewählten Stelle an der Wand befestigt. Die Räder sollten senkrecht zur Tragstruktur montiert werden. In diesem Fall sollten die Reifen leicht zwischen die Jumper fallen und sich aufgrund ihres Eigengewichts im Regal festsetzen.
Hilfreicher Tipp! Es wird empfohlen, Regale für Räder in einer Garage mit eigenen Händen so nah wie möglich an der Decke in einer optimalen Höhe zu platzieren. Dies verhindert, dass Autoreifen nützlichen Platz in der Garage beanspruchen.
Für die kompakte Lagerung von Rädern kann ein ganzes Rack in Form von vier breiten Regalen verwendet werden. Es eignet sich zum Platzieren von Rädern mit Scheiben, die in horizontaler Position übereinander platziert werden können. Die Struktur kann in einer Ecke hergestellt und an der Wand angehoben werden.
Um ein ähnliches Design zu erstellen, wird empfohlen, Folgendes zu verwenden:
- Holzbalken;
- Bretter;
- Spanplatten.
Die Installation von Reifenhalterungen ist die effizienteste Art, Ihre Räder zu lagern. Mehr Platzersparnis kann erzielt werden, indem Gummi von der Deckenbasis entlang der Garagenwand aufgehängt wird. Diese Option ist möglich, wenn der Raum eine hohe Höhe und Stahlbetonplatten an der Decke hat. Sie werden als Basis zum Einschrauben von Dübeln verwendet.
Werkzeugaufbewahrung: interessante Ideen für eine Garage mit eigenen Händen
Um einen bequemen Aufbewahrungsbereich für Dinge zu organisieren, können Sie unabhängig voneinander ein hausgemachtes und sehr geräumiges Gestell oder Regale herstellen. Natürlich finden Sie Hunderte von vorgefertigten Modellen in den Läden. Dennoch ist es viel billiger, ein Regal in der Garage mit eigenen Händen herzustellen, als ein ähnliches Produkt auf dem Markt zu kaufen.
Das Problem ist das gleiche für Regale. Durch die unabhängige Herstellung von Stauraum für Werkzeuge können Sie ein praktisches und praktisches Gestell nicht nur organisieren, sondern auch harmonisch in den Garagenraum einbauen.
Hilfreicher Tipp! Der Mindestindikator für die Belastungen, denen die Struktur standhalten muss, beträgt 150 kg oder mehr. In diesem Fall beträgt die maximale Begrenzung der Last pro Abschnitt 500 kg.

Das Vorhandensein von Regalen und Halterungen hilft dabei, das Toolkit je nach Verwendungszweck zu organisieren
Regeln für die Herstellung von Holzprodukten:
- Es ist besser, Hartholz wie Buche, Eiche, Hainbuche zu verwenden.
- Vor dem Zusammenbau muss Holz mit Antiseptika behandelt werden.
- Rahmenteile müssen sorgfältig geschliffen werden, um einen sicheren Betrieb des Racks zu gewährleisten.
- Für die Herstellung von Regalen wird die Verwendung von Spanplatten oder Sperrholzplatten (OSB) empfohlen. Geeignet sind auch DVL-Platten mit einer Dicke von mindestens 4 mm.
Die Dicke des Materials wird durch die Lasten bestimmt, die anschließend auf das Rack wirken.
Empfehlungen für die Herstellung von Werkzeugregalen zum Selbermachen in der Garage
Regale werden in Fällen installiert, in denen in der Garage kein Gestell aufgestellt werden kann. Es ist besser, wenn es mehrere Strukturen gibt.
Schema zum Erstellen von Regalen für Werkzeuge:
- Planen Sie Regalplatzierung, Größe und Aufschlag.
- Bereiten Sie das Material in Form von Brettern und Befestigungselementen vor.
- Bohren Sie mit einem Locher Löcher in die Wand und bringen Sie Dübel mit Haken an, um eine bessere Fixierung zu erzielen.
- Befestigen Sie Kleiderbügel mit Ösen an den Brettern. Es wird empfohlen, selbstschneidende Schrauben oder normale Nägel für Metallbügel zu verwenden.
- Befestigen Sie die fertigen Produkte auf Gebäudeebene, da sonst das Werkzeug aus den Regalen fallen kann, was den Betrieb unsicher macht.
Hilfreicher Tipp! Bei der Herstellung von Regalen ist es besser, mehrere kurze Strukturen zu bevorzugen, da ein langes Produkt unter dem Gewicht des Werkzeugs brechen kann.
In der letzten Phase können Sie die Produkte (Farbe oder Spezialfolie) dekorativ veredeln.
Garage Werkzeugregal Technologie
Um ein Rack mit Ihren eigenen Händen zu erstellen, benötigen Sie Bretter mit einer Breite von 9 und 19 cm. Die Größe der Struktur kann angepasst werden.
Schritt für Schritt Technologie:
- Ein 9 cm breites Element wird in mehrere Stücke von 18 cm, 27,5 cm und 30 cm Länge geschnitten. Die resultierenden Teile sind Abstandshalter.
- Das Brett, das 19 cm breit ist, sollte in 36 cm lange Stücke geschnitten werden. Die Regale werden aus diesen Teilen hergestellt.
- Auf der Platte, die die Basis des Produkts bildet, müssen an den Stellen, an denen sich die Abstandshalter befinden, Markierungen angebracht werden. Es wird empfohlen, jede Seite um 2,5 cm einzurücken.
- Der obere Abstandshalter wird geklebt, dann wird das obere Regal, das bereits einen Abstandshalter hat, daran festgenagelt. Die restlichen Teile werden auf die gleiche Weise montiert. Die Bodenstrebe ist am Ende montiert.
- Drehen Sie die Struktur um und ziehen Sie die Abstandshalter mit Schrauben zusammen mit der Basis des Produkts fest.
- Die Oberfläche wird gründlich mit Sandpapier gereinigt. Danach muss das Produkt mit zwei Schichten öligem Lack oder einer anderen Art von Oberfläche beschichtet werden.
- Die Struktur wird mit Ankerschrauben an der Wand befestigt. Die Fixierung sollte sowohl unter dem oberen als auch unter dem unteren Regal erfolgen.
Hilfreicher Tipp! Um das Produkt zu stärken, sollten Sie Holzblöcke zwischen den Abschnitten installieren. Mit ihnen können Sie die Lasten gleichmäßig auf das Rack verteilen.
Organisation des Beleuchtungs- und Heizungssystems in der Garage
Um den Betrieb der Garage komfortabel zu gestalten, sollte das Beleuchtungs-, Lüftungs- und Heizsystem im Raum ordnungsgemäß organisiert sein. Da Autos eng mit dem Einsatz giftiger und schädlicher Substanzen verbunden sind, ist das Problem der Belüftung auf engstem Raum besonders akut. Für eine Garage sind Lüftungsschlitze für Mauerwerk geeignet. Sie sind mit Gittern ausgestattet.
Faktoren, die das Beleuchtungsniveau beeinflussen:
- Garagenbereich, seine Höhe;
- Anzahl und Art der Platzierung der Arbeitsbereiche (Abmessungen einer Werkbank für eine Garage, Inspektionsgrube, Anzahl der Maschinen);
- Art der Dekoration an den Wänden, ihre Farben;
- Anzeige der spezifischen Leistung des Netzes pro 1 m²;
- Art der Lampen für die Garage.
Verschiedene Arten der Heizung können verwendet werden, um die optimale Temperatur aufrechtzuerhalten:
- Gas;
- basierend auf Altöl;
- Luft;
- elektrisch (Infrarotstrahler für die Garage);
- Ofen;
- Wasser;
- fester Brennstoff.
Es gibt viele alternative Möglichkeiten, um Ihr eigenes Heizsystem zu organisieren.
Merkmale von Halogen-, Leuchtstofflampen und LED-Garagenleuchten
Die technischen Eigenschaften von Halogenlampen ähneln in vielerlei Hinsicht Glühlampen, aber ihre Glühlampe ist mit Bromdampf gefüllt, sodass die Produkte mehr Licht emittieren. Zu den Vorteilen solcher Lampen gehört eine lange Lebensdauer von 4.000 Stunden.
Hilfreicher Tipp! Produkte müssen in Schattierungen platziert werden. Es lohnt sich auch, über eine Stabilisierung nachzudenken, die vor Überspannungen schützen soll. Es wird nicht empfohlen, solche Lampen mit den Händen zu berühren (die Haltbarkeit wird verkürzt).
Die Leuchtstofflampen im Inneren sind mit Inertgasen gefüllt. Von innen sind die Kolben mit einer speziellen Verbindung bedeckt, die unter dem Einfluss einer Lichtbogenentladung ultraviolettes Licht emittiert. Zu den empfohlenen Modellen gehören Produkte der Schutzart IP-65, die vor Feuchtigkeit und Staub geschützt sind.
Die Installation von LED-Beleuchtung in einer Garage ist mit den höchsten Kosten verbunden. Trotzdem zahlen sie sich in 50.000 Arbeitsstunden aus. In Bezug auf die Effizienz sind LEDs 50% rentabler als Leuchtstofflampen. Gleichzeitig enthalten sie keine schädlichen Bestandteile, und das Licht wirkt sich nicht aggressiv auf die Augen aus, sodass keine Plafonds gekauft werden müssen.
Installation der Beleuchtung in der Garage: Berechnung
Um die Leistung herkömmlicher Lampen zu berechnen, können Sie die folgende Formel verwenden:
P = S x W / N..
Dekodierung von Werten:
- P ist die insgesamt benötigte Leistung, W / m².
- W ist die Leistung einer Lampe, W.
- N - Anzahl der Lampen (Leuchten), Stck.
- S ist die Fläche des Raumes, m².
Für Halogen- und LED-Leuchten beträgt der optimale Indikator 16-20 W / m². Dieser Wert eignet sich für Räume, in denen die Deckenhöhe nicht mehr als 2,5 m beträgt. In Garagen mit 3 m hohen Decken sollte diese Zahl mit 1,5 multipliziert werden.
Die Berechnung wird durch die Innenausstattung der Wände des Raumes beeinflusst. In dunklen Garagen sollte die Beleuchtung heller sein.
Lichtreflexionsstufe:
| Raumfläche, m2 | Deckenhöhe, m | Wanddekoration Farbe | |
| Dunkel | Hell gefärbt | ||
| 20 | weniger als 3 | 0,6 | 0,75 |
| 50 | 0,75 | 0,9 | |
| 100 | 0,85 | 1 | |
| 20 | 3-5 | 0,4 | 0,55 |
| 50 | 0,6 | 0,75 | |
| 100 | 0,75 | 0,9 | |
| 50 | 5-7 | 0,4 | 0,55 |
| 100 | 0,6 | 0,75 | |
Es wird empfohlen, Lampen mit geringem Stromverbrauch und Halogen- oder LED-Lampen zu verwenden, um die Inspektionsgrube in der Garage zu beleuchten, da an dieser Stelle angesammelte Feuchtigkeit einen elektrischen Schlag hervorrufen kann. Die Geräte sind seitlich in vorgefertigten Aussparungen montiert.
Hilfreicher Tipp! Um zu verhindern, dass ein versehentlich fallendes Werkzeug die Lampe bricht, kann das Design der Lampen versenkbar gemacht werden. Wenn die Grube nicht benutzt wird, sind die Geräte sicher in den Aussparungen versteckt.
Autonomes Beleuchtungssystem zum Selbermachen in der Garage
Es gibt eine Reihe von Prinzipien, auf deren Grundlage ein autonomes Beleuchtungssystem durchgeführt wird:
- LED-Streifen sind in den Jalousien montiert (es gibt 300 Dioden pro Element).
- Die Ausgabe des Schalters erfolgt ausschließlich auf der Abschirmung.
- Für die Verkabelung wird ein abgehängtes Deckensystem verwendet.
- Die Kabel werden von einer Batterie gespeist, die über ein Ladegerät an das Stromnetz angeschlossen ist.
Das mehrstufige Beleuchtungssystem für die Garage gilt als das optimalste.Es beinhaltet die Installation einer großen Lampe in der Mitte des Raums und die Installation kleiner Lampen in den Arbeitsbereichen.
Berechnung der Höhe für ein abgestuftes System:
| Niveau | Höhe, m |
| 1 | Deckenfuß |
| 2 | 1,8 |
| 3 | 0,75 |
| 4 | 0,4 |
Die Leuchten sind korrekt installiert, wenn die Maschine auf keiner Seite einen Schatten wirft.
So wählen Sie eine Heizung für eine Garage
Die Garagenheizung erfolgt mit kleinen tragbaren Geräten, die den Raum in kurzer Zeit aufwärmen und die optimale Temperatur aufrechterhalten können.
Wenn man bedenkt, welche Heizungen für die Garage am besten geeignet sind, glauben viele Menschen fälschlicherweise, dass ein selbstgemachtes Gerät ausschließlich aus teuren Komponenten hergestellt werden kann und viel Zeit in Anspruch nimmt. Aus diesem Grund geben Garagenbesitzer dieses Unternehmen auf.
Um eine Garagenheizung mit Ihren eigenen Händen herzustellen, reicht es aus, sich auf preisgünstige Materialien zu beschränken, beispielsweise Wärmefilme. Das Schema zum Erstellen eines solchen Geräts ist sehr einfach und umfasst die Verwendung der folgenden Materialien und Werkzeuge:
- ein Kit zum Zusammenbau einer Heizung;
- Drähte komplett mit Stecker;
- papierlaminierter Kunststoff (Fläche eines Elements 1 m²);
- Graphitpulver;
- Epoxidkleber.
Hilfreicher Tipp! Stellen Sie sicher, dass Sie ein Multimeter dabei haben. Bei der Montage des Geräts ist dieses Tool unbrauchbar, es wird jedoch benötigt, um die Funktionsfähigkeit zu überprüfen.

Thermal Gas, Diesel- oder elektrische Pistole - eine übliche Heizoption in der Garage
Empfehlungen für die Montage einer hausgemachten Garagenheizung
Schritt-für-Schritt-Anleitung zur Herstellung einer Garagenheizung:
- Eine Mischung aus Leim und Graphitpulver wird hergestellt. Je mehr Pulver in der Zusammensetzung enthalten ist, desto stärker ist die Erwärmung der Vorrichtung. Die durchschnittliche Temperatur liegt zwischen 60 und 65 ° C.
- Die Kunststoffplatten werden auf der rauen Seite mit einer Mischung aus Leim und Graphit beschichtet, die in Zick-Zack-Strichen aufgetragen wird. Anschließend werden sie mit den Vorderseiten befestigt und mit einem Rahmen aus Holzlatten befestigt.
- Die Anschlüsse sind an den Graphitleitern befestigt und die Struktur wird getrocknet. Die Trocknung muss abgeschlossen sein, da sonst das Gerät durch Feuchtigkeit beschädigt wird.
Nach dem Trocknen der Heizung sollte ein Widerstandstest durchgeführt werden. Eine Garagenheizung gilt erst nach dieser Prüfung als sicher. Bis zu diesem Moment ist es strengstens verboten, das Gerät an das Stromnetz anzuschließen.
Sicherheitsbeschränkungen:
- Es wird nicht empfohlen, das eingeschaltete Gerät unbeaufsichtigt oder in der Nähe von Kindern zu lassen.
- Es ist verboten, Geräte zu verwenden, die ein Feuer auslösen können.
- Stellen Sie keine brennbaren Substanzen und Materialien in die Nähe des Geräts.
DIY nützliche Garagenvorrichtungen
Um Reparatur- und Servicearbeiten durchführen zu können, müssen Sie mit Ihren eigenen Händen ein Inspektionsloch in der Garage bauen, dessen Abmessungen den Abmessungen des Fahrzeugs entsprechen, sowie eine Werkbank für bequemes Arbeiten und den Raum mit Maschinen ausstatten.
Ein grundlegender Satz von Werkzeugen und Materialien zum Erstellen einer hausgemachten Werkstatt für Garagen umfasst:
- Bretter und Holzklötze;
- Befestigungselemente und Krawatten;
- Hobel und andere Werkzeuge für die Holzbearbeitung;
- Lack- und Tischlerklebstoffe;
- Schleifpapier und Trockenöl.

Ein Beispiel für die Platzierung nützlicher Geräte in der Garage: 1 - Basteltisch mit manuellen Maschinen, 2 - Gestelle und Schränke, 3 - ein Tisch für verschiedene Reparaturen, 4 - ein Regal zur Lagerung von Reifen, 5 - eine Inspektionsgrube
DIY Werkbank Herstellungstechnologie in der Garage: Fotos, Zeichnungen
Die Werkbank besteht aus einer Tischplatte und einem Untergestell sowie mehreren Spannvorrichtungen. Die Höhe der Werkbank in der Garage sollte an Ihre eigene Höhe angepasst werden.Sie können die Höhe des Küchentischs im Haus als Richtschnur nehmen, an dem Sie bequem arbeiten können. Stellen Sie sicher, dass Sie komponieren, um zu erstellen DIY Garage Werkbank Blaupausen.
Hilfreicher Tipp! Vorgefertigte Zeichnungen einer Werkstattbank, die im Internet zu finden sind, eignen sich als Grundlage für die Erstellung einer Struktur. Auf Wunsch kann es an Ihre Bedürfnisse angepasst werden.
Garagenanordnung: Wie man eine Werkbank in Innenräumen herstellt:
| Arbeitsstufe | Details, Größe in cm | Montagetyp |
| Arbeitsplatte zusammenbauen | 20 Bretter (5x10x200) mit 2,5x2,5 Rillen im 5. und 16. Element (Schritt 25) | Klebstoffzusammensetzung von Metallestrich |
| Trocknen | — | — |
| Beine machen (4 Stk.) | Stange (10x10x80) mit Schlitzen für Halterungen an den vorderen Stützen | Klammern |
| Montage der Basis des Untergestells | Rahmen (2 Stk.) Aus Brettern (5x10) | 2,5 cm Spike und Schrauben |
| Befestigung der seitlichen und hinteren Stützwände | Spanplatte (Dicke 10 mm) | Holzschrauben |
| Befestigen Sie die Tischplatte am oberen Rahmen | — | Schrauben |
Bei der Endverarbeitung wird das fertige Produkt mit Leinöl imprägniert und mit Lack geöffnet.
Empfehlungen zum Erstellen eines Sichtlochs in der Garage mit eigenen Händen
Es gibt keine bestimmte Größe für eine Inspektionsgrube in einer Garage. Die Abmessungen des Autos werden als Grundlage genommen.
So machen Sie ein Inspektionsloch in einer Garage mit optimalen Parametern:
- Die Breite wird so gewählt, dass im Inneren genügend Platz für die Arbeit vorhanden ist. Die Größe wird durch den Abstand begrenzt, in dem die Räder des Autos gepflanzt werden. Jedes Rad benötigt eine kleine Fläche zum Manövrieren. Die durchschnittliche Grubenbreite beträgt 0,8 m.
- Die Länge der Grube ist durch die Länge der Maschine begrenzt. Zu diesem Indikator sollte 1 m hinzugefügt werden.
- Die Höhe des Garagenbesitzers wird zur Berechnung der Tiefe verwendet. Weitere 10-15 cm werden hinzugefügt.
So bohren Sie mit verschiedenen Materialien ein Inspektionsloch in der Garage:
| Material | Wandstärke, cm |
| Keramikziegel | 12-25 |
| Beton | 15 |
| Bausteine | 20 |
Die Grube wird unter Berücksichtigung der optimalen Breite der Grube, des für die Wände gewählten Materials sowie der Dicke der Abdichtungsschicht herausgezogen. Phasen der Erstellung einer Grube:
- Markup;
- Grubenbau;
- Anordnung der Grube;
- Bau von Mauern;
- Beleuchtungsstreifen.
Für die Abdichtung von Wänden wird eine spezielle hydrophobe Imprägnierung verwendet.
Hilfreicher Tipp! Mit Hilfe der Schalung können Sie verstärkte Aussparungen in den Wänden der Grube vornehmen, um Werkzeuge und Beleuchtungskörper aufzunehmen.

Schema der Anordnung der Inspektionsgrube: 1 - Wände aus Schaumstoffblöcken, 2 - Abdichtung, 3 - Schuttmauerwerk. 4 - Ecke 50x50x4 mm
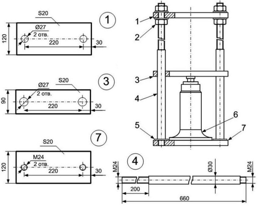
Machen Sie mit Ihren eigenen Händen eine Presse für eine Garage
Um eine Presse zu erstellen, sollte ein Rahmen mit einer Größe von 178 x 80 cm aus 4 Metallrohren hergestellt werden. Diese Elemente werden durch Schweißen verbunden. Bei der Arbeit wird empfohlen, sich von den Zeichnungen leiten zu lassen, die im Voraus ausgewählt oder erstellt wurden. Danach müssen Sie installieren:
- Halter;
- entfernbare Betonung;
- Flaschenheber (hydraulisch).
Sie können Videomaterial verwenden, um die detaillierte Technologie zum Erstellen nützlichen Zubehörs für die Garage mit Ihren eigenen Händen zu betrachten. Solche visuellen Empfehlungen helfen Ihnen, in der Größe zu navigieren, Schritt-für-Schritt-Anweisungen zu beherrschen und sich vorzustellen, wie die fertige Struktur aussehen soll.

Herstellungsschema Hydraulikpresse: 1 - obere Kraftplattform, 2 - Muttern, 3 - untere Plattform, 4 - Bolzen mit einem Durchmesser von 30 mm, 5 - unteres Gewinde der Bolzen, 6 - Flaschenhydraulikzylinder; 7 - Basis 20 mm dick
Garagenanordnung du kannst es selber machen. Die Liste der nützlichen Tools endet hier nicht. Es kann immer mit interessanten Ideen ergänzt werden. Die Hauptsache ist, dass die Garage die persönlichen Anforderungen an Komfort und Bequemlichkeit voll erfüllt.
















