כיום קורות ה- I פופולריות מאוד בענפי בנייה ותעשיות אחרות, אשר נבדלות על ידי כוחן ואמינותן הייחודיות. המוצר מסוגל לעמוד בעומס הגבוה פי כמה מהערך האופייני למבנים עם חתך מרובע, עגול או מלבני. מבחר קורות ה- I מובחן במגוון רחב של סוגים, וכל מוצר מיוצר בהתאם לתקנים הנוכחיים.
תוֹכֶן
- 1 קורות I המווסתות על ידי GOST: מאפיינים ותכונות עיצוב
- 2 וריאציות של פרופילי ייצור בהתאם ל- GOST I-beam
- 3 פרמטרים לבנייה בהתאם לטווח קורות ה- I
- 4 מבחר קורות I: מגוון חומרי ייצור וצורת חתך
- 5 דרישות GOST 26020-83: מבחר קורות I מפלדה חם
- 6 דרישות GOST 8239-89: מבחר של קורת I מפלדה חם
- 7 חישוב קרן I לקביעת יכולת הנשיאה של מוצר
- 8 יצרנים מקומיים של קורות I: מחירי מוצרים
- 9 מאפייני קורות I: תכונות של מוצרי עץ
קורות I המווסתות על ידי GOST: מאפיינים ותכונות עיצוב
מהי קרן אני? עיצוב זה הוא פרופיל מתכת עם חתך בצורת H. הגדלים הסטנדרטיים של המוצר, צורתו והסטיות המקסימליות המותרות בפרמטרים טכניים מוסדרים בקפדנות על ידי GOST 26020-83 ו- GOST 8239-89. התקנים מציינים את סוגי קורות ה- I ואת סדר סימונם.
על רקע סוגים אחרים של מתכת מגולגלת, למשל, תעלה שהטווח שלה מותקן על ידי GOST 8240-97, קרן I (GOST 26020-83 קובעת את הצורה הייחודית של קטע המוצר) מאופיינת בדרגה הגבוהה ביותר של נוקשות וחוזק ספציפיים. הלחץ מחולק באופן שווה על כל שטח הקורה, מה שמפחית משמעותית את כמות החומר בשימוש.
אם נשווה את חוזק המתיחה של הפרופיל בצורת H ופס מוצק, אותו ערך מתקבל, בעוד שמסת קרן ה- I נמוכה פי 10. חוזק המוצרים הממוקמים בסמיכות נקבע על ידי סיכום, ואלה הממוקמים זה על גבי זה - על ידי הגדלה פי 4.
חָשׁוּב! השימוש בקורות I יאפשר להקל על מסת המבנה, ולהפחית את עלויות הבנייה.
קורות I נעשות בשימוש נרחב בבניית מבנים הידראוליים, רצפות של בניינים רבי קומות ומבני תמיכה. זאת בשל עמידותם של מוצרים לעומסים מוגברים וחסינותם בפני לחץ מכני. פרופילים שכיחים למדי בבנייה תעשייתית.
בשל יכולת הנשיאה הגבוהה, המפוזרת באופן שווה בכל המוצר, רצוי להשתמש באלמנטים מבניים כאלה לטווחים שאורכם עולה על 7 מ '. קרן I הינה הכרחית לבניית מעברים וגשרים עיליים, אשר קשורה ליכולת הפרופילים לתפוס עומסים אנכיים מוגברים.
וריאציות של פרופילי ייצור בהתאם ל- GOST I-beam
GOSTs עבור קורות I קובעים שניתן לייצר מוצרים בשתי דרכים. האפשרות הראשונה כוללת ייצור פרופילים על ידי גלגול מבלטים באורך 3-12 מ ', המעובדים בטמפרטורה של 1200 מעלות צלזיוס. תהליך זה מתבצע במכונות מיוחדות. הייצור עושה שימוש בפלדה מבנית, שאינה מכילה תוספי סגסוגת.
טכנולוגיה זו תורמת לייצור מהיר של מוצרים מונוליטיים. אלמנטים כאלה מראים עמידות מוגברת לסוגים שונים של לחץ מכני. הטכנולוגיה מאפשרת להשתמש בחלקי בניין ללא שימוש בקשיחים נוספים.
צורת המוצר הייחודית מאפשרת להפחית את משקל המבנה, תוך הגדלת כושר הנשיאה שלו. מדפים המפזרים באופן שווה את העומס מבטלים את האפשרות להטיית המבנה.
הפרופיל בצורת H יכול גם להיות עשוי משלושה אלמנטים באמצעות ריתוך. טכנולוגיה זו מאפשרת לך לקבל חלק עם חתך קטן יותר בהשוואה למבנים מונוליטיים.
חָשׁוּב! הודות לשימוש באלמנטים מפלדות שונות, ניתן להפחית את עלות המוצר המרותך.
תהליך ריתוך קרן I מתרחש ברצף הבא:
- חיתוך יריעות פלדה במכונות CNC;
- ריתוך ריקים מתכתיים על מתקנים אוטומטיים באמצעות מלחציים הידראוליים;
- מבני עריכה על בסיס הפרמטרים שנקבעו על ידי התקן.
בעזרת שיטת הטכנולוגיה המרותכת, ניתן להשיג קורות I, שמחירן למטר אחד תלוי בפרמטרים הגיאומטריים שלהם, ברוחב ובעובי המדפים השונה. ניתן להזמין מוצר באורך מסוים עם גזרות וחורים לחיזוק בגוף הפרופיל.
אם קורות I מיוצרות על ציוד מודרני, המוצרים אינם נחותים במאפיינים הטכניים שלהם לעומת עמיתיהם המיובלים. בעת שימוש בציוד מיושן ובציוני פלדה דלת פחמן, אלמנטים בבניין יאופיינו בביצועים נמוכים.
פרמטרים לבנייה בהתאם לטווח קורות ה- I
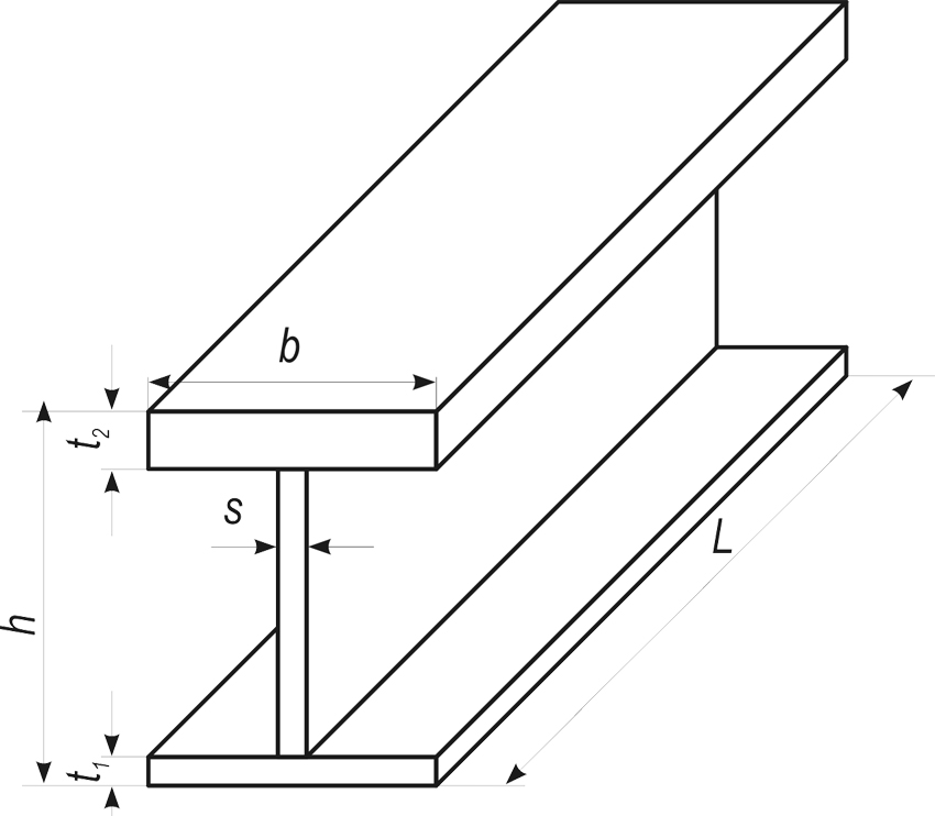
בעת בחירת קורות I לביצוע סוג מסוים של משימות, יש לקחת בחשבון את הפרמטרים העיקריים שלהם:
- גובה - המרחק בין אוגני קרן ה- I;
- רוחב - גודל הפער מבסיס המוצר לקצה המדף;
- עובי דופן, המחושב על בסיס המוצר וקובע את חוזק וכושר הנשיאה של המבנה;
- עובי האוגן הממוצע, הנקבע על ידי חיסור עובי הקיר מרוחב האוגן, ומחלק את התוצאה ב- 4;
- רדיוס העקמומיות הפנימית, שנוצר על ידי התמיכה במדפים, שתופס את העומס הגדול ביותר, הקובע את מטען הנוקשות והחוזק של המוצר.
חָשׁוּב! המדף לא אמור להיות בזווית ישרה לקיר. הרדיוס שנוצר בצומת מגביר את חוזק המוצר.
לצורך ייעוד קורות I בתיעוד העיצוב משתמשים בכתובת, המתווה בצורה מסוימת. המכתב מציין את סוג המוצר, שיכול להיות רגיל, עמודני או רחב מדף. האות "D" מציינת סדרה נוספת של פרופילים עם פרמטרים מוגדרים המווסתים על ידי התקן.
הערך המספרי מול האות תואם את גובה קרן ה- I בסנטימטרים. המספר אחרי האות מגדיר את שינוי האלמנט. ככל שהמספר גבוה יותר, כך המוצר עבה יותר וכבד יותר. יתר על כן, מספר התקן לפיו מיוצר קרן ה- I. בסוף נקבע חומר להכנת המבנה. לדוגמא, קרן 35SH1 היא קרן I עם אוגן רחב וגובהה 350 מ"מ.
מבחר קורות I: מגוון חומרי ייצור וצורת חתך
התקן הנוכחי מגדיר מספר סוגים של קורות I בעלות מאפיינים ממדיים שונים, משקל וצורת חתך, אשר נקבעת על ידי המינוח של החומרים.
מתכת מגולגלת בצורת H מאופיינת בצורת חתך שונה. עבור קרן I מפלדה חמה, המווסתת על ידי GOST 8239-89, המדפים עם הקיר מהווים זווית של 8-12 °. המוצר משמש כקורה תומכת לקווי מנוף. קרן I רגילה (בהתאם ל- GOST 26020-83), המיועדת בתיעוד העיצוב באות "B", מיוצרת עם קצוות אוגן מקבילים. זה מפשט את תהליך הייצור, ובמקביל מפחית את ההתנגדות לעיוות הפרופיל.
אלומת הקורה הרחבה (GOST 26020-83 מסמנת את המוצר עם הסימון "Ш") רוחבה מוגדל פי 1.5 של המדפים בהשוואה לסוגי המתכת המגולגלת לעיל. יש לכך השפעה חיובית על קשיחות, חוזק ועמידות המבנה. הודות לכך הוא מסוגל לעמוד בעומס 40% יותר מקורה רגילה.
עמודות קורות I לפי GOST 26020-83 מיועדות באות "K". למוצרים רוחב מדף מרבי עם עובי מוגבר, המאפשר להשיג מוצר בעל חוזק גבוה. קרן ה- I משמשת לבניית מבנים קריטיים במיוחד.
ליצירת מדרגות, רצפות, תומכים, חוות, גשרים ומבנים הידראוליים שונים, נעשה שימוש בקורת I רגילה המווסתת על ידי GOST 26020-83. קורות אוגן רחבות מוצאות את השימוש בהן במבני רצפה נושאים ומעליות מדרגות. בבנייה תעשייתית משתמשים בעיקר במבני עמודים.
בהתאם ל- GOST 8239-89 ו- GOST 26020-83, מבחר קורות ה- I מכיל את המינוח הבא של החומרים המשמשים לייצור קורות I:
- פלדת פחמן באיכות רגילה, המווסתת על ידי GOST 380-2005, יכולה להיות רגועה, רותחת ויציבה למחצה, המאופיינת ביחס אופטימלי של חוזק, מאפיינים טכניים ומחיר;
- פלדת בנייה, בהתאם ל- GOST 27772-88, מאופיינת בדרישות מוגברות לגבי תכולת זיהומים מזיקים בחומרי גלם;
- סגסוגת אלומיניום (בהתאם ל- GOST 4784-97) משמשת ליצירת מוצרי פרופיל קלים המאופיינים בתכונות אסתטיות וקורוזיה גבוהות;
- פלדה בעלת חוזק גבוה לבניית גשרים, העומדת בדרישות GOST 4784-97, משמשת לבניית מבנים קריטיים במיוחד והגבירה את ההתנגדות להשפעה של עומסים מחזוריים.
דרישות GOST 26020-83: מבחר קורות I מפלדה חם
תקן זה מציין חלקים בצורת H פלדה מגולגלת חמה עם קצוות מקבילים. ממדי קרן ה- I מוסדרים בקפדנות על ידי GOST זה. גובה מדפי המוצר הוא בטווח של 100-1000 מ"מ, והרוחב הוא 55-400 מ"מ.
בניגוד לממדי הערוץ המיוצרים על פי GOST 8240-97, מבחר הקורות I מאופיין במגוון רחב של ערכי עובי, הנמצא בטווח של 100-600 מ"מ. קורות I כאלה יכולות להיות רגילות - הן מיועדות על ידי הסימון "B", מדף רחב - "W", עמוד - "K" ונוסף - "D".
מבחר קורות ה- I עם אוגן רחב מגדיר פרופילים בגובה 193-718 מ"מ, בהם ניתן להשתמש ללא הידוק נוסף. מוצרים כאלה משמשים בסיס להנחת לוחות בטון מזוין או יריעות פלדה.
סוג זה של אלמנטים מסוגל לעמוד בעומסים משמעותיים, ולכן משתמשים בו לעיתים קרובות בבניית מבנים רבי קומות. פרופילי T למבני סריג עשויים קורות I בעלות אוגן רחב 50SH1.
חָשׁוּב! בשל הרוחב המוגדל של האוגנים, לקורות I מסוג אוגן רחב יש קשיחות מרבית, המאפשרת להשתמש בהן כאלמנטים תומכים עצמאיים.
קורות מיוצרות באורכים הבאים: נמדדים, לא מודדים, נמדדים עם קטע, נמדדים מרובים, נמדדים מרובים עם קטע מ -6 עד 24 מ '. ערך זה מוגדר כאורך המקסימלי של פרופיל חיתוך מותנה עם קצוות בניצב לציר האורך.
קטע הוא פרופילים עם פרמטר של לפחות 3 מ 'עבור מוצרים עם צפיפות ליניארית של עד 20 ק"ג / מ' ולפחות 4 מ '- עם צפיפות גבוהה מ -20 ק"ג / מ'. התקן מאפשר ייצור של קורות I באורך מוגבל, שנמצא בטווח מחוץ למד, האופייני ביותר לקורות 30SH1.
מאמר קשור:
קרן I: טבלת מידות, משקל ומאפיינים טכניים של פרופילים
תכונות עיצוב וייצור. אופייני לקורות I: 12, 14, 16, 18, 20, 24, 25, 30, 36 ו- 40. טבלת מידות ומשקולות.
דרישות GOST 8239-89: מבחר של קורת I מפלדה חם
טווח קורות I מפלדה חמה עם שיפוע של הקצוות הפנימיים של המדפים ב-6-12 ° מוסדר על ידי GOST 8239-89. קורות I יכולות להיות עשויות דיוק גבוה ונורמלי על ידי גלגול חם, ושיטת הייצור נקבעת על פי היקף המוצר. סוג פרופיל זה מאופיין בעלות הנמוכה ביותר ומתאים להנדסת מכונות ובניית אלמנטים מבניים של בניין.
על פי GOST 8239-89, לקורות I יכול להיות גובה של 100 עד 600 מ"מ. אורך הפרופילים הוא בטווח של 4-12 מ '. המוצרים הארוכים ביותר אמינים פחות.
המבנים מאופיינים בעוצמה גבוהה, אמינות, עמידות מוגברת בפני לחץ מכני ותקופת פעולה ארוכה מבלי להפר את המאפיינים הגיאומטריים של המוצר. כל הפרמטרים העיקריים של הפרופיל: גובה, רוחב המדף, עובי המדף והקירות, רגע ההתנגדות, רגע האינרציה של קרן ה- I, רדיוס האינרציה מוצגים בטווח המוצרים.
עצה מועילה! ניתן לייצר את הקורה למידות בודדות, מה שישפיע על עלות המוצר.
בהתאם למיקום הקצוות, ניתן להטות את קרן ה- I בסימון "Y" או במקביל ("P"). מבנים כאלה נמצאים בשימוש נרחב בבניית מתקני מגורים ותעשייה, ביתנים, גשרים, מתקני אחסון ועמודים. קורות I בעלות שיפוע של 10% מיועדות להתקנת מסילות תקורה. מבנים בעלי שיפוע קצוות של 12% מוצאים את יישומם בחיזוק ופירורי מכרות.
חישוב קרן I לקביעת יכולת הנשיאה של מוצר
כדי למזער עלויות, להבהיר את המבנה, להפחית את עלויות העבודה והחומר מבלי לפגוע בחוזק המבנה, מתבצע חישוב קרן ה- I. הנתונים הראשוניים לבחירת פרופיל המוצר הם, בהתאם לכושר הנשיאה, אורך הטווח, העיצוב והעומס הרגיל, מספר קורות ה- I והתנגדות העיצוב.
אורך הטווח מוגדר כמרחק בין הקצוות הפנימיים של קירות קצרים. העומס הסטנדרטי נלקח מטבלת תערובת המוצרים, המחושב מחושב על ידי הכפלת ערך זה בגובה הקורה. העמידות בתכנון, שתלויה בדרגת הפלדה, מניחה כי היא 210 מגה פיקסל.
העומס על קרן I נקבע באופן הבא:
- העומס הכולל על הרצפה מסוכם, תוך התחשבות במשקל הפרופיל, המחושב לכל מטר רץ אחד של המוצר;
- הערך המתקבל מוכפל במקדם האמינות והאלסטיות של הפלדה;
- ערך רגע ההתנגדות נקבע על בסיס טבלת הערכים המחושבים של GOST;
- על פי רגע ההתנגדות, מספר הפרופיל נבחר מטבלת מבחר הקורות.
יצרנים מקומיים של קורות I: מחירי מוצרים
כיום ישנן מספר חברות מותגים מוכרות בשוק הבנייה המתמחות בייצור מבני מתכת. מחיר קורות I מתכת תלוי בפרמטרים הטכניים של המוצר, במידותיו ובמדיניות החברה.
היצרן העיקרי של קורות I ברוסיה הוא מפעל המטלורגיה ניז'ני טאגיל, המייצר מוצרים מאושרים באיכות גבוהה העומדים במלואם בתקנים החלים.
בקטלוגים של היצרן מוצגים כל סוגי קורות I עם קצוות אוגן מקבילים ומוצרים עם שיפוע של הקצוות הפנימיים. הפופולרי ביותר בענף הבנייה הוא קרן 40SH1, שניתן לקנות במחיר של 55 אלף רובל. לטון.
מפעל המטלורגיה המערבית סיבירי מציע קורות I עם קצוות אוגן מקבילים בהתאם ל- GOST 26020-83. המוצרים מאופיינים ביחס מחיר-איכות אופטימלי. אתה יכול לקנות קרן 40B1 תמורת 30 אלף רובל בלבד. לטון.
אריאל מטאל היא ספקית אוניברסלית של מוצרי מתכת מגולגלת. בקטלוגים של היצרן ניתן לראות מגוון רחב של מוצרים מפלדה 09G2S, 35GS ו- 17G1S, כמו גם קורות I מאלומיניום. GOST 13621-90 מווסת קורות אלומיניום בעלות עדות שונות. העלות הממוצעת של טון מוצר היא בטווח של 50 אלף רובל.

הספקיות העיקריות של קורות H בפדרציה הרוסית הן חברת "אריאל מטאל", ניז'ני טגיל ושילובי מטלורגיה מערב סיביר.
מאפייני קורות I: תכונות של מוצרי עץ
חידוש בשוק הבנייה הוא קורת I מעץ, שניתן להשתמש בה לסידור מסגרת של מבנה, התקנת תקרות בין רצפות, התקנת מערכת קורות עץ, שחזור עליית גג ומרפסות.
קרן ה- I מורכבת משתי קורות מחטניים מהוקצעות ולוח OSB הממוקם ביניהן. מבנה כזה מסוגל לעמוד בעומס כיפוף גדול מבלי לעוות את המוצר וללא שימוש במבני עזר מחזקים.
הקורה אינה מתייבשת לאורך זמן, אינה מחלידה ועיוותים משתנים כתוצאה מגורמים חיצוניים. כדי להאריך את חיי השירות, המוצר אינו זקוק להספגה וצביעה מיוחדים. קורת ה- I מעץ מאופיינת בהתנגדות ללבוש, חוזק ויכולת עומס גבוהה.
עצה מועילה! השימוש בקורות I מעץ בעת הנחת הרצפה מאפשר לך לא למרוח אותה.

קורת I מעץ מאופיינת ביכולת לעמוד בעומסים כבדים, תהליך התקנה לא פשוט, כדאיות כלכלית ורמת מוליכות תרמית נמוכה.
למוצר משטח שטוח וחלק, מה שהופך את החומר לאידיאלי להתקנות רצפה ותקרה. הנחת מבנים מתבצעת ללא מעורבות של ציוד מיוחד עם עלויות עבודה מינימליות וחיסכון חומרי.
קורות I מעץ: מחיר חידוש בשוק הבנייה
קורות I לרצפות, קורות גג ומסגרות בניין מחולקות לסדרה הבאה:
- BDK - קרן מודבקת;
- BDKU - מודבק מחוזק;
- BDKSH - מודבק רחב;
- SDKU - קיר מחוזק;
- SDKSH - קיר רחב.
קרן BDK מורכבת מאלמנטים מבניים המודבקים יחד באמצעות שרפים סינתטיים בלחץ גבוה. המוצר משמש בטווחים קצרים. מחיר קרן I למטר רץ של המוצר הוא 300 רובל. עם גובה אלמנט של 241 מ"מ. לקורה המחוזקת המודבקת רוחב אוגן מוגדל של 64 מ"מ, המספיק לחיזוק ציפורניים. ניתן להשתמש על טווחים ארוכים. מחיר המוצר הוא 320 רובל / לין. M.
הקורה הרחבה המודבקת מאופיינת ברוחב מדף של 89 מ"מ. מוצרים כאלה משמשים למבנים הנמצאים במתח גבוה במיוחד. אתה יכול לקנות מטר רץ של קרן עבור 400 רובל.
מבנה קיר מחוזק שמחירו הממוצע הוא 300 רובל משמש ליצירת בסיס לבניין מסגרת. קורת הקיר הרחבה משמשת להתקנת לוחות קיר. עלות מטר פועל של קרן היא 390 רובל.
אם ישנה אות "L" לצד הסימון, הדבר מעיד על כך שהמוצר עשוי מעץ בעל חוזק גבוה, מה שמעניק לקורה I חוזק מוגבר. אורך המוצר הסטנדרטי הוא 6 מ '. הגובה יכול להיות שווה ל -457 מ"מ, 406 מ"מ, 356 מ"מ, 302 מ"מ, 241 מ"מ.
ברשות הפרמטרים האוניברסאליים, נעשה שימוש נרחב בקורות I בתחומי בנייה שונים. כדי להשיג את חיי השירות המרביים של המבנה, יש צורך לקבוע נכון את העומס לגביו נבחר סוג הפרופיל בצורת H בהתאם לטווח המוצרים.



















