ลักษณะเฉพาะของเขตภูมิอากาศของเราทำให้เราสามารถเพลิดเพลินกับทั้งฤดูร้อนและฤดูหนาวที่หนาวเย็นได้อย่างเท่าเทียมกัน แต่เพื่อให้ความทรงจำเพียงอย่างเดียวของฤดูหนาวที่ผ่านมาไม่กลายเป็นการล้างหิมะหลายคนจึงตัดสินใจซื้อเครื่องเป่าหิมะด้วยตนเอง อุปกรณ์ง่ายๆนี้จะช่วยคุณขจัดความพยายามทางร่างกายที่ไม่จำเป็นและยังช่วยให้คุณประหยัดเวลาได้มาก พิจารณาว่าอุปกรณ์มีตัวเลือกอะไรบ้างและควรเลือกตามหลักการใด
เนื้อหา
- 1 เครื่องเป่าหิมะแบบแมนนวล: ขอบเขตของอุปกรณ์
- 2 อุปกรณ์และความหลากหลายของเครื่องเป่าหิมะ
- 3 วิธีเลือกและซื้อเครื่องเป่าหิมะด้วยมือ: คุณสมบัติของการทำงานขององค์ประกอบหลัก
- 4 วิธีทำเครื่องเป่าหิมะด้วยมือด้วยมือของคุณเอง
- 5 เครื่องเป่าหิมะด้วยมือแบบสำเร็จรูป: ราคาและลักษณะของรุ่นยอดนิยม
- 6 คุณสมบัติของการจัดเก็บและการใช้งานเครื่องเป่าหิมะด้วยมือ
เครื่องเป่าหิมะแบบแมนนวล: ขอบเขตของอุปกรณ์
เครื่องเป่าหิมะแบบแมนนวลเป็นอุปกรณ์ที่ออกแบบมาเพื่อช่วยให้คุณไม่ต้องกังวลกับการเคลียร์บ้านที่ปกคลุมไปด้วยหิมะด้วยพลั่ว โดยทั่วไปในการกำจัดหิมะที่ตกลงมาและให้ตัวเองมีทางเดินไปยังจุดใดจุดหนึ่งได้อย่างอิสระมีเพียงสามวิธีเท่านั้น: โปรยหิมะด้วยพลั่วใช้เครื่องเป่าหิมะหรือจัดระบบละลายหิมะ
ตัวเลือกที่แพงที่สุดคือพลั่ว แต่ไม่มีใครยอมรับว่าวิธีนี้ต้องใช้เวลาและความพยายามอย่างมาก ยิ่งไปกว่านั้นหิมะใหม่จะตกอย่างต่อเนื่องในฤดูหนาวและคุณจะได้รับความประหลาดใจในรูปแบบของหิมะตกทุกเช้า วิธีที่สะดวกกว่า แต่ในเวลาเดียวกันและยากต่อการติดตั้งคือระบบละลายหิมะ แต่เป็นที่น่าสังเกตว่าหลายคนมองว่าตัวเลือกนี้แพงเกินไปและไม่ยุติธรรม
นั่นคือเหตุผลที่เครื่องเป่าหิมะแบบใช้มือถืออยู่ในตำแหน่งที่มั่นคงท่ามกลางวิธีการล้างหิมะและใช้กันอย่างแพร่หลายในชีวิตประจำวัน ประสิทธิภาพของมันช่วยให้คุณสามารถล้างหิมะได้อย่างง่ายดายจากถนนทางออกหรือลานเล็ก ๆ ซึ่งมีพื้นที่ไม่เกิน 400 ตารางเมตร ม. แต่คุณสามารถล้างพื้นที่เฉพาะได้เร็วเพียงใดนั้นขึ้นอยู่กับสภาพอากาศตลอดจนลักษณะทางเทคนิคของอุปกรณ์รุ่นหนึ่ง ๆ
ขนาดถังมีบทบาทสำคัญในกระบวนการกำจัดหิมะ ท้ายที่สุดมันเป็นพารามิเตอร์นี้ที่กำหนดว่าคุณสามารถลบสโนว์ดริฟท์ได้สูงเพียงใด บางครั้งมีการปรับความสูงเพิ่มเติมด้วยขาเพิ่มเติม สิ่งนี้ช่วยเพิ่มขีดความสามารถของเครื่องเป่าหิมะ
เครื่องเป่าหิมะแบบใช้มือถือเป็นทางออกที่ยอดเยี่ยมสำหรับผู้ที่เดินทางไปประเทศในช่วงฤดูหนาวหรืออาศัยอยู่ในบ้านในชนบท ตัวเลือกนี้มีขนาดกะทัดรัดกว่ามาก จัดเก็บง่ายกว่าและดูแลง่ายกว่า ลองพิจารณาวิธีเลือกรุ่นที่เหมาะสมที่สุดสำหรับตัวคุณเองลักษณะใดที่คุณควรใส่ใจและวิธีการจัดเรียงอุปกรณ์เหล่านี้
อุปกรณ์และความหลากหลายของเครื่องเป่าหิมะ
หลักการทำงานของเครื่องเป่าหิมะนั้นง่ายมากคือจับหิมะในเส้นทางของมันและโยนทิ้งไปดังนั้นจึงล้างเส้นทางที่มันเคลื่อนที่ไป ขึ้นอยู่กับคุณสมบัติของกลไกที่ดำเนินการตามกระบวนการนี้ยูนิตหนึ่งขั้นตอนและสองขั้นตอนมีความโดดเด่น
ขั้นตอนเดียวเรียกอีกอย่างว่าสว่านและใช้ท่อพิเศษเพื่อโยนหิมะ กระบวนการนี้ดำเนินการโดยการหมุนทางกลของสกรู ในระบบสองขั้นตอนกลไกการทำงานแตกต่างกันเล็กน้อย: สว่านจะรวบรวมหิมะในขณะที่ส่วนอื่น ๆ โรเตอร์มีหน้าที่ในการดีดออก
พื้นผิวการทำงานของสว่านอาจแตกต่างกันขึ้นอยู่กับเงื่อนไขที่คุณวางแผนจะใช้รถกวาดหิมะ อุปกรณ์ของมันเปรียบได้กับมีดที่คมตัดส่วนบนของหิมะอย่างแท้จริง ดังนั้นหากหิมะเพิ่งตกเมื่อไม่นานมานี้การใช้ขอบเรียบจะสะดวกกว่าในขณะที่พื้นผิวขรุขระจะรับมือกับหิมะที่เป็นน้ำแข็งและเป็นเวลานานได้ดีกว่า ในทางกลับกันขอบหยักจะแตกต่างกันไปตามจำนวนและขนาดของฟันปลา
สว่านของเครื่องเป่าหิมะแบบใช้มือคือเหล็กยางและพลาสติกทั้งนี้ขึ้นอยู่กับวัสดุที่ใช้ทำ แน่นอนว่าตัวเลือกนี้หรือตัวเลือกนั้นมีข้อดีอย่างไรก็ตามพวกเขาทั้งหมดล้มเหลวค่อนข้างง่ายเมื่อชนกับสิ่งกีดขวางเช่นหินตอไม้และท่อนไม้ สิ่งนี้ได้รับผลกระทบอย่างรุนแรงโดยเฉพาะอุปกรณ์ขั้นตอนเดียวซึ่งความเร็วในการหมุนของสกรูในการขว้างหิมะต้องสูงสุด
วิธีเลือกและซื้อเครื่องเป่าหิมะด้วยมือ: คุณสมบัติของการทำงานขององค์ประกอบหลัก
การซื้อเครื่องเป่าหิมะแบบใช้มือแสดงถึงการใช้งานเฉพาะในชีวิตประจำวัน อย่างไรก็ตามแม้จะใช้ในบ้าน แต่ก็มีข้อกำหนดมากมายสำหรับอุปกรณ์นี้ และวัสดุใบพัดเป็นหนึ่งในวัสดุหลัก ไม่ต้องสงสัยเลยว่าชิ้นส่วนโลหะมีข้อได้เปรียบที่สำคัญมากกว่าชิ้นส่วนพลาสติก: มีอายุการใช้งานนานขึ้นและสามารถรับน้ำหนักได้มาก แต่ในเวลาเดียวกันค่าใช้จ่ายของอุปกรณ์ดังกล่าวมีราคาแพงกว่ามาก
จุดสำคัญอีกประการหนึ่งคือทางเลือกของมอเตอร์ เห็นได้ชัดว่าเป็นมอเตอร์ที่เป็นแรงขับเคลื่อนหลักของกลไกดังกล่าวและผลงานของคุณตลอดจนปริมาณความพยายามที่ใช้ไปนั้นขึ้นอยู่กับคุณภาพของมันโดยตรง ความท้าทายที่ยิ่งใหญ่ที่สุดสองประการที่มอเตอร์เป่าหิมะต้องรับมือคืออุณหภูมิเยือกแข็งและวัตถุแข็งที่เข้าไปข้างในได้ การพังทลายของส่วนประกอบหนึ่งทำให้ระบบทั้งหมดทำงานผิดปกติ
คำแนะนำที่เป็นประโยชน์! สิ่งสำคัญคือต้องเข้าใจว่าแม้จะมีเครื่องเป่าหิมะแบบแมนนวลให้เลือกมากมายจากแบรนด์ต่างๆ แต่มี บริษัท น้อยรายที่ใช้มอเตอร์ของตัวเอง บ่อยครั้งที่มีการซื้อมอเตอร์ชนิดเดียวกันซึ่งติดตั้งในรูปแบบต่างๆ

ทำ เครื่องเป่าหิมะทำด้วยตัวเอง ไม่ใช่เรื่องยากและด้วยเหตุนี้คุณจะได้รับอุปกรณ์ที่ดีด้วยเงินเพียงเล็กน้อย
เพื่อเป็นมาตรการป้องกันการเกิดความผิดปกติจึงใช้โครงร่างการเชื่อมต่อต่อไปนี้: โดยใช้พินหรือสลักเกลียวซึ่งทำหน้าที่เป็นฟิวส์สว่านจะถูกยึดเข้ากับเพลาขับ ระบบนี้ช่วยให้โบลต์หรือพินแตกทันทีหากสว่านถูกบล็อกท้ายที่สุดแล้วการเปลี่ยนองค์ประกอบที่เป็นส่วนประกอบขนาดเล็กนั้นง่ายกว่าการจัดการกับการซ่อมแซมมอเตอร์ที่ซับซ้อนและมีราคาแพง
มอเตอร์เป่าหิมะสามารถแบ่งออกเป็นสองประเภท ได้แก่ เครื่องยนต์สันดาปไฟฟ้าและเครื่องยนต์สองจังหวะขึ้นอยู่กับประเภท การใช้ตัวเลือกที่สองให้ผลกำไรและมีเหตุผลมากกว่าอย่างไรก็ตามมอเตอร์ไฟฟ้าก็มีข้อดีหลายประการเช่นราคาถูกกว่าน้ำหนักเบาไม่ก่อให้เกิดมลพิษในชั้นบรรยากาศดูแลรักษาง่ายกว่าและมีระดับการสั่นสะเทือนที่ต่ำกว่า
วิธีทำเครื่องเป่าหิมะด้วยมือด้วยมือของคุณเอง
บ่อยครั้งที่เจ้าของบ้านในชนบทสงสัยอย่างจริงจังว่าเป็นไปได้หรือไม่ที่จะประกอบเครื่องเป่าหิมะด้วยตัวเองโดยใช้วัสดุที่มีอยู่สำหรับสิ่งนี้ และคำตอบสำหรับคำถามนี้เป็นบวกอย่างชัดเจน แน่นอนว่าต้องใช้ทักษะและวัสดุบางอย่าง แต่ถ้าคุณใช้ภาพวาดและคำแนะนำที่มีให้บนอินเทอร์เน็ตคุณสามารถประหยัดค่าซื้อรถกวาดหิมะได้อย่างมาก
ก่อนอื่นคุณต้องตัดสินใจว่าคุณต้องการทำเครื่องเป่าหิมะแบบใด คุณสามารถประกอบเครื่องเป่าหิมะด้วยมือทั้งแบบกลไกและแบบไฟฟ้าได้อย่างอิสระ พิจารณาอัลกอริทึมสำหรับการสร้างหนึ่งในตัวแทนของแต่ละประเภทเป็นระยะ
เครื่องเป่าหิมะแบบกลไกในครัวเรือน DIY
ในการสร้างตัวแทนของเครื่องเป่าหิมะแบบแมนนวลที่ง่ายที่สุดคุณสามารถใช้รายละเอียดและวัสดุเกือบทั้งหมดที่มีอยู่ในมือ ชิ้นส่วนอะไหล่จากเครื่องใช้ไฟฟ้าเก่าตลอดจนองค์ประกอบโลหะอื่น ๆ มีความเหมาะสม เพื่อเป็นแนวทางคุณสามารถใช้ภาพวาดที่เกี่ยวข้องหรือคำแนะนำทีละขั้นตอน
โครงโลหะที่ทำจากท่อหรือมุมทำหน้าที่เป็นพื้นฐานของโครงสร้าง โดยการติดตั้งบนทางวิ่งหรือล้อกลไกที่เหลือจะถูกยึดเข้ากับมัน วิธีที่ง่ายที่สุดในการสร้างนักวิ่งคือใช้บล็อกไม้ที่มีรูปทรงที่เหมาะสมจากด้านล่างของท่อน้ำที่ตัดหรือแถบดีบุกพลาสติก ฯลฯ
คำแนะนำที่เป็นประโยชน์! หากเป็นที่ยอมรับได้ในการใช้วัสดุในมือเป็นทางวิ่งล้อที่มีขนาดเหมาะสมมักจะต้องซื้อแยกต่างหาก
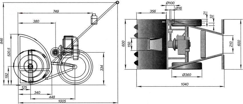
ต้องติดเครื่องยนต์เข้ากับเฟรมจำนวนรอบการหมุนไม่เกิน 1.5 พันต่อนาทีและกำลัง 5-6 กิโลวัตต์ ในการขับเคลื่อนกลไกผ่านกระปุกเกียร์วิธีที่ง่ายที่สุดคือใช้โซ่ขับและสเตอร์จากจักรยาน สำหรับสว่านนั้นติดตั้งบนท่อโลหะซึ่งในทางกลับกันจะติดกับผนังด้านข้างของถังหิมะในลักษณะที่สามารถหมุนได้
ในการสร้างสว่านด้วยตัวคุณเองคุณต้องมีใบมีด 4 ใบซึ่งสามารถตัดออกจากโลหะหรือสายพานได้ นอกจากนี้ยังมีแผ่นยึดเข้ากับกึ่งกลางของท่อซึ่งจะทำหน้าที่เป็นฐานซึ่งจะทำหน้าที่เป็นใบมีดและจะสามารถโยนหิมะลงไปในท่อได้ ในทางกลับกันใบมีดจะติดอยู่ที่ด้านหนึ่งกับใบมีดและอีกด้านหนึ่งเข้ากับเพลา (ในบางกรณีคุณสามารถดูคำแนะนำสำหรับการใช้แผ่นเสริมที่เสริมความแข็งแกร่งให้กับโครงสร้าง) เพื่อให้กลไกทำงานได้อย่างถูกต้องใบมีดจะต้องอยู่ในทิศทางที่แตกต่างกันทำให้เกิดเกลียวขวาง
คำแนะนำที่เป็นประโยชน์! สิ่งสำคัญคือต้องคำนวณเส้นผ่านศูนย์กลางที่ต้องการของวงแหวนโลหะอย่างถูกต้องเพื่อที่ว่าระหว่างการหมุนจะไม่สัมผัสกับผนังด้านหลังของถัง แต่ในขณะเดียวกันก็ไม่ได้อยู่ไกลเกินไป
เกี่ยวกับการขว้างหิมะอุปกรณ์ของระบบนี้ก็ไม่ยากเกินไปที่จะติดตั้ง ก็เพียงพอแล้วที่จะทำรูที่ส่วนบนของกล่องที่จะสอดท่อเข้าไป (โดยปกติเส้นผ่านศูนย์กลางจะอยู่ระหว่าง 15 ถึง 18 ซม.)
ผิวสัมผัสคือปุ่มควบคุมซึ่งสามารถทำจากมุมโลหะหรือท่อหลังจากนั้นจะเหลือเพียงการทำความสะอาดและทาสีเครื่องเป่าหิมะที่เสร็จแล้วและคุณสามารถเริ่มทำงานได้
DIY เครื่องเป่าหิมะด้วยมือไฟฟ้า: คำแนะนำทีละขั้นตอน
อัลกอริทึมสำหรับการสร้างเครื่องเป่าหิมะไฟฟ้ามีลักษณะแตกต่างกันเล็กน้อย ในกระบวนการสร้างอุปกรณ์ดังกล่าวมีความซับซ้อนมากกว่าเล็กน้อยอย่างไรก็ตามการทำงานเพิ่มเติมกับมันจะง่ายกว่ามากเมื่อเทียบกับโมเดลเชิงกล พิจารณาคำแนะนำทีละขั้นตอนสำหรับการประกอบโครงสร้างดังกล่าว:
- การสร้างสกรู ขั้นตอนการทำสกรูสำหรับเครื่องเป่าหิมะไฟฟ้าไม่แตกต่างจากแบบกลไกมากนัก ในทำนองเดียวกันจะต้องมีการผลิตเพลาและแหวน และมีการติดแผ่นเพิ่มเติมเข้ากับกึ่งกลางของท่อหลักที่ป้อนหิมะไปยังรางทางออก
- การผลิตถัง สำหรับถังควรใช้เหล็กมุงหลังคาเนื่องจากมีความแข็งแรงเพียงพอและในขณะเดียวกันก็มีคุณสมบัติที่จำเป็นทั้งหมด การออกแบบนั้นเรียบง่ายมาก: ต้องครอบคลุมสว่านจากสามด้าน
คำแนะนำที่เป็นประโยชน์! ผนังของถังไม่จำเป็นต้องเป็นโลหะ นอกจากนี้ยังสามารถทำจากไม้อัดหนาอย่างน้อย 10 มม.
- ด้วยความช่วยเหลือของแบริ่งที่ปรับแนวได้เองเพลาที่มีสว่านติดอยู่กับผนังด้านข้าง ในกรณีนี้ระยะห่างจากขอบของเกลียวถึงผนังด้านในของถังควรมีอย่างน้อย 2 ซม. ท่อน้ำทิ้งที่มีเส้นผ่านศูนย์กลาง 15 ซม. ขึ้นไปเหมาะสำหรับการจัดเรียงรางน้ำ กฎหลักในกรณีนี้คือเส้นผ่านศูนย์กลางของท่อทางออกต้องใหญ่กว่าความกว้างของแผ่นซึ่งมีหน้าที่ในการปล่อยหิมะ

ปริมาณการจับหิมะขึ้นอยู่กับขนาดของถังนั่นคือความกว้างและความสูงของกองหิมะที่เครื่องเป่าหิมะสามารถถอดออกได้
- สำหรับการติดตั้งมอเตอร์ไฟฟ้าที่เชื่อถือได้และสะดวกกรอบรูปตัวยูได้รับการผลิตเพิ่มเติมซึ่งประกอบด้วยมุมโลหะ สำหรับการยึดมอเตอร์เพิ่มเติมจะใช้แถบโลหะ
- เพื่อให้แน่ใจว่าอุปกรณ์มีการเคลื่อนไหวที่สะดวกสบายและสม่ำเสมอยังใช้ล้อหรือสกี เป็นสิ่งสำคัญที่นี่คือระยะห่างจากพวกเขาถึงเฟรมน้อยที่สุด หากคุณตัดสินใจที่จะเลือกใช้ล้อให้ใส่ใจว่าพวกมันมีความทนทานต่อน้ำค้างแข็งและให้การยึดเกาะสูงสุดของตัวเป่าหิมะกับพื้นผิว
- หากคุณต้องการสร้างโครงสร้างแบบหมุนคุณต้องสร้างโครงสร้างเพิ่มเติมซึ่งเป็นแกนที่มีแผ่นสี่เหลี่ยมสี่แผ่น เพื่อให้เก็บหิมะได้ดีขึ้นควรมีขอบพิเศษที่ขอบ ในกรณีนี้สิ่งสำคัญคือต้องสังเกตสัดส่วนเพื่อไม่ให้โรเตอร์สัมผัสกับถังระหว่างการทำงาน
บทความที่เกี่ยวข้อง:
เครื่องเป่าหิมะสำหรับรถไถเดินตาม: หลักการทำงานและพื้นฐานของการประกอบตัวเอง
วิธีประกอบด้วยตัวเอง. ตัวเลือกการผลิตเครื่องเป่าหิมะ ลักษณะของแบบจำลองต่างๆ คำแนะนำในการติดตั้งด้วยตนเอง
- ขั้นตอนต่อไปคือความแตกต่างที่สำคัญระหว่างเครื่องเป่าหิมะไฟฟ้าและเครื่องกลไก - มอเตอร์ไฟฟ้า เพื่อจุดประสงค์นี้อุปกรณ์ใด ๆ ที่มีกำลังไฟประมาณ 1 กิโลวัตต์จึงเหมาะสม ที่นี่สิ่งสำคัญคือให้การป้องกันที่เชื่อถือได้จากหิมะและน้ำเพื่อหลีกเลี่ยงความผิดปกติและไฟฟ้าลัดวงจร นอกจากนี้ยังควรให้ความสนใจกับสภาพและความยาวของสายไฟ: ไม่ควรเสียหายและความยาวควรเพียงพอ
- ในตอนท้ายของการทำงานจำเป็นต้องมีการเชื่อมต่อระหว่างสว่านและมอเตอร์ ในการทำเช่นนี้คุณสามารถใช้สองวิธี: ป้อนสายพานหรือด้วยกระปุกเกียร์ ตัวเลือกแรกเป็นไปได้เฉพาะในกรณีที่แกนของมอเตอร์และเพลาขนานกัน ในกรณีนี้พวกเขาจะเชื่อมต่อกันด้วยสายพานส่งกำลัง ตัวเลือกที่สองต้องการตำแหน่งตั้งฉากของเพลาและมอเตอร์
เครื่องเป่าหิมะด้วยมือแบบสำเร็จรูป: ราคาและลักษณะของรุ่นยอดนิยม
หากหลังจากอ่านคำแนะนำในการทำเครื่องเป่าหิมะด้วยมือด้วยมือของคุณเองคุณจะได้ข้อสรุปว่าความพยายามดังกล่าวไม่ยุติธรรมและง่ายกว่ามากในการซื้ออุปกรณ์สำเร็จรูปจากนั้นพิจารณารุ่นยอดนิยมสองรุ่นที่รวมประสิทธิภาพสูงและราคาไม่แพง
เครื่องเป่าหิมะแบบกลไก Forte QI JY 50
เครื่องเป่าหิมะแบบแมนนวล Forte QI JY 50 เป็นอุปกรณ์ที่เรียบง่าย แต่มีประโยชน์ในการทำความสะอาดพื้นที่ขนาดเล็ก ด้วยน้ำหนักที่น้อยมาก (เพียง 3.82 กก.) และขนาดที่เล็กเครื่องเป่าหิมะนี้ช่วยให้คุณทำความสะอาดแม้ในบริเวณที่เข้าถึงยากที่สุดได้อย่างมีคุณภาพ
สำหรับการผลิตเครื่องเป่าหิมะแบบใช้มือของ Forte นั้นจะใช้เฉพาะพลาสติกสำหรับงานหนักเท่านั้นซึ่งตามที่ผู้ผลิตสามารถรับน้ำหนักได้มาก
อย่างไรก็ตามก่อนที่คุณจะซื้อเครื่องเป่าหิมะ Forte QI JY 50 แบบกลไกเราขอแนะนำให้คุณใส่ใจกับบทวิจารณ์ของผู้ซื้อจริงที่ใช้อุปกรณ์นี้ ตามที่หลายคนพูดไว้เครื่องเป่าหิมะนี้สามารถรับมือกับหิมะที่ตกลงมาเมื่อไม่นานมานี้ แต่หิมะที่เปียกและเหม็นอับจะอุดตันกลไกอย่างรวดเร็วเพียงพอซึ่งส่งผลเสียต่อความเร็วในการทำงาน
คุณสมบัติอีกประการหนึ่งที่คุณต้องรู้ก่อนซื้อเครื่องเป่าหิมะแบบแมนนวล Forte QI JY 50 ก็คือสามารถขว้างหิมะไปทางด้านขวาเท่านั้น นี่ไม่ได้หมายความว่านี่เป็นปัจจัยสำคัญในการเลือกเพราะคุณสามารถเปลี่ยนทิศทางการเคลื่อนไหวได้ตลอดเวลาอย่างไรก็ตามควรรู้ล่วงหน้าเกี่ยวกับเรื่องนี้ดีกว่า
ราคาของเครื่องเป่าหิมะด้วยมือ Forte QI JY 50 เริ่มต้นที่ 907 รูเบิลและอาจเพิ่มขึ้นขึ้นอยู่กับร้านค้าที่นำเสนอผลิตภัณฑ์นี้ แต่ถึงแม้ในกรณีนี้เกือบทุกคนสามารถซื้อเครื่องเป่าหิมะ Forte QI JY 50 ได้และด้วยเหตุนี้จึงเป็นทางเลือกที่ยอดเยี่ยมสำหรับพลั่ว
เครื่องกวาดหิมะด้วยมือ Hyundai S 5555
ในฐานะแอนติโฟนคุณสามารถพิจารณาตัวเลือกยอดนิยมอื่น ๆ แต่มีราคาแพงกว่ามากนั่นคืออุปกรณ์จากฮุนได ผู้ผลิตได้จัดหาระบบทำความสะอาดสองขั้นตอนเช่นเดียวกับเครื่องยนต์เบนซินที่ทรงพลังพอสมควรที่มีปริมาตร 2.6 ลิตร องค์ประกอบทั้งหมดทำจากโลหะซึ่งอธิบายถึงน้ำหนักที่สำคัญของโครงสร้าง - 72 กก.
นอกจากนี้ยังมีการปรับระยะการขว้างหิมะตั้งแต่ 1 ถึง 10 เมตรในบรรดาความยากลำบากที่ผู้ใช้ทราบระหว่างการใช้งานนั้นมีขนาดค่อนข้างใหญ่ซึ่งต้องใช้พื้นที่จัดเก็บฟรีรวมถึงการประกอบที่ไม่ซับซ้อนหากคุณตัดสินใจที่จะทำเช่นนี้ ตัวคุณเอง
คุณสมบัติของการจัดเก็บและการใช้งานเครื่องเป่าหิมะด้วยมือ
เช่นเดียวกับอุปกรณ์อื่น ๆ เครื่องเป่าหิมะไม่ว่าจะมีแหล่งกำเนิดมาจากลักษณะใด (ผลิตเองที่บ้านหรือซื้อมา) ต้องการการจัดการอย่างระมัดระวังและปฏิบัติตามกฎการปฏิบัติงาน แน่นอนภายใต้เงื่อนไขนี้คุณสามารถคาดหวังได้ว่าอุปกรณ์จะให้บริการคุณเป็นเวลานานและไม่มีการพังทลาย ลองพิจารณาว่าอุปกรณ์ต้องมีเงื่อนไขอะไรบ้างในช่วงเวลาต่างๆของปี
การดูแลเครื่องเป่าหิมะในระหว่างการใช้งาน
ก่อนดำเนินการกำจัดหิมะครั้งแรกในฤดูกาลนี้โปรดตรวจสอบอุปกรณ์ตามปกติ ตรวจสอบความน่าเชื่อถือของตัวยึดทั้งหมดสภาพของสายพานตรวจสอบให้แน่ใจว่าไม่มีข้อบกพร่องหรือความเสียหาย หากจำเป็นให้ตรวจสอบว่ามีน้ำมันอยู่ในเครื่องยนต์และสภาพของหัวเทียน ใช้ความระมัดระวังเป็นพิเศษเพื่อให้แน่ใจว่าไม่มีสิ่งแปลกปลอมในชิ้นส่วนที่เคลื่อนไหวของเครื่องใช้ไฟฟ้า
เมื่อคุณตรวจสอบแล้วว่าเครื่องเป่าหิมะทำงานอย่างถูกต้องคุณสามารถเริ่มได้ อย่างไรก็ตามมีรายละเอียดปลีกย่อยบางอย่างที่นี่เช่นกัน อย่ารีบเร่งและไปทำงานทันที ปล่อยให้เครื่องยนต์เดินเบาสักครู่ดังนั้นน้ำมันสามารถอุ่นขึ้นซึ่งจะช่วยให้มั่นใจได้ว่าการทำงานขององค์ประกอบทั้งหมดจะราบรื่นและปลอดภัยยิ่งขึ้น
หลังจากทำความสะอาดเสร็จแล้วอย่าเพิ่งรีบดับเครื่องยนต์ทันที ปล่อยให้เครื่องทำงานสักครู่เพื่อให้หิมะที่อาจค้างอยู่ภายในเครื่องละลาย
คำแนะนำที่เป็นประโยชน์! ข้อผิดพลาดที่เกิดขึ้นบ่อยที่สุดโดยเจ้าของอุปกรณ์กำจัดหิมะคือการทำความสะอาดอุปกรณ์ในที่อบอุ่นทันทีหลังจากสิ้นสุดการทำงาน วิธีนี้จะกระตุ้นให้เกิดการกัดกร่อนขององค์ประกอบโลหะอย่างแน่นอน
การดูแลเครื่องเป่าหิมะระหว่างการจัดเก็บ
สภาพการเก็บรักษาเป็นปัจจัยสำคัญอันดับสองในการกำหนดอายุการใช้งานของเครื่องเป่าหิมะ ดังนั้นเมื่อเริ่มต้นฤดูหนาวหน้าคุณจะไม่ต้องเผชิญกับความประหลาดใจที่ไม่พึงประสงค์ในรูปแบบของการพังทลายของเครื่องกวาดหิมะคุณต้องปฏิบัติตามกฎต่อไปนี้:
- เพื่อหลีกเลี่ยงกระบวนการกัดกร่อนต้องทำความสะอาดเครื่องเป่าหิมะอย่างทั่วถึงก่อนจัดเก็บ
- ดำเนินการตรวจสอบตัวยึดและชิ้นส่วนที่เคลื่อนไหวเป็นประจำ ให้ความสนใจเป็นพิเศษกับระดับการสึกหรอของสายพาน หากพวกเขาต้องการการเปลี่ยนควรทำทันทีโดยไม่เลื่อนออกไปจนกว่าคุณจะต้องการเครื่องเป่าหิมะที่ใช้งานได้
- เพื่อการถนอมชิ้นส่วนโลหะและป้องกันสนิมได้ดีขึ้นขอแนะนำให้หล่อลื่นด้วยน้ำมันกันบูดชนิดพิเศษ แม้ว่าคุณจะเก็บเครื่องเป่าหิมะไว้ในบ้าน แต่ความชื้นในอากาศก็อาจส่งผลบางอย่างได้เช่นกันเมื่อต้องใช้เวลานาน
- และแน่นอนอย่าลืมเกี่ยวกับการระบายน้ำมันเบนซินเมื่อพูดถึงรุ่นที่มีถังน้ำมันเบนซิน
คำแนะนำง่ายๆที่จะช่วยให้คุณจัดเก็บเครื่องเป่าหิมะได้อย่างถูกต้องมีดังนี้:
- ห้องที่เก็บเครื่องเป่าหิมะจะต้องมีการระบายอากาศที่มีคุณภาพสูงหรือมีอากาศถ่ายเทอย่างสม่ำเสมอ
- ใช้เคสสำหรับจัดเก็บเฉพาะเสมอเพื่อป้องกันฝุ่นและสิ่งสกปรกไม่ให้ตกตะกอนบนอุปกรณ์
- วางเครื่องเป่าหิมะให้ห่างจากแหล่งกำเนิดไฟและความร้อน โดยทั่วไปพยายามรักษาให้คงที่มากที่สุด
- การเก็บเครื่องเป่าหิมะไว้กลางแจ้งเป็นเวลานานทำให้ระยะเวลาการทำงานลดลงอย่างมาก
ไม่ว่าคุณจะตัดสินใจซื้อเครื่องเป่าหิมะแบบใด: แบบกลไกไฟฟ้าหรือเพียงแค่ใช้แบบจำลองแบบโฮมเมดเองปัญหานี้ต้องได้รับการใส่ใจ ท้ายที่สุดหากคุณเข้าหาทางเลือกอย่างมีความรับผิดชอบเช่นเดียวกับการสร้างสภาพการจัดเก็บหิมะที่เพิ่งตกลงมาจะทำให้คุณมีความสุขเท่านั้น




















