Máy ép thủy lực được sử dụng rộng rãi trong cuộc sống hàng ngày. Nó là cần thiết cho công việc đòi hỏi nhiều áp lực đối với vật liệu được xử lý. Một công cụ đa chức năng chất lượng cao có giá thành cao, hoàn toàn không hợp lý khi sử dụng trong gia đình. Bạn có thể chế tạo máy ép thủy lực bằng tay của chính mình trên cơ sở kích ô tô.
Nội dung
- 1 Mục đích và phạm vi của máy ép thủy lực
- 2 Các biến thể của việc sử dụng máy thủy bình tại nhà
- 3 Thiết kế máy ép tự chế từ giắc cắm
- 4 Thiết bị ép nhà để xe tự chế: tính năng thiết kế
- 5 Tính năng của máy ép thủy lực DIY
- 6 Tự tay bạn thiết kế máy ép thủy lực tự chế cho nhà để xe
- 7 Trình tự thực hiện việc tự làm từ một chiếc giắc cắm
- 8 Tính năng tạo máy ép dầu thủy lực bằng tay của chính bạn
- 9 Cách sử dụng kích thủy lực: đặc điểm thiết kế
- 10 Các tính năng của máy ép thủy lực điện tự làm
- 11 Tự sửa chữa máy ép thủy lực từ một kích
- 12 Cách làm máy ép thủy lực bằng tay của chính bạn: video hướng dẫn
Mục đích và phạm vi của máy ép thủy lực
Máy ép thủy lực là một thiết bị tạo áp lực lớn lên vật liệu cần xử lý mà không tốn nhiều công sức. Nguyên tắc hoạt động này dựa trên định luật Pascal, theo đó lực tác dụng lên một diện tích nhất định được truyền trong toàn bộ khối lượng và bằng nhau theo mọi hướng.
Thiết bị ép thủy lực được biểu diễn bằng hai xi lanh. Khi tiếp xúc với một khoang nhỏ hơn, áp suất của chất lỏng trong đó tăng lên, áp suất này được truyền qua một kênh đặc biệt đến khoang lớn. Chất lỏng làm việc tạo áp lực lên piston, góp phần ảnh hưởng của phần tử lên phôi được gia công. Các xi lanh thường được sắp xếp theo chiều dọc, nhưng cũng có các tùy chọn để đặt theo chiều ngang. Một loại dầu đặc biệt được sử dụng làm chất lỏng làm việc.
Việc lắp đặt được sử dụng để ép, dập, đùn, lắp ráp, rèn, uốn, nắn các phần tử kim loại. Bạn có thể mua hoặc tự làm một chiếc máy ép bìa cứng, thiết bị này sẽ trở nên không thể thiếu trong việc đóng gói, đóng bánh, ép và tái chế các vật liệu từ nhựa, giấy và cao su. Thiết bị được đặc trưng bởi tính linh hoạt và có thể được sử dụng trong các lĩnh vực khác nhau của cuộc sống để sửa chữa, bảo trì và bảo dưỡng phòng ngừa. Tùy thuộc vào điều này, báo chí có một thiết kế nhất định.
Các biến thể của việc sử dụng máy thủy bình tại nhà
Để ép các phần tử kim loại ra khỏi vỏ hoặc đế, bạn có thể mua hoặc tự chế tạo một máy ép thủy lực ở nhà để xe. Thiết bị này cũng thích hợp để đùn vòng bi và các khối im lặng, không thể lắp ráp và tháo rời thủ công. Với sự trợ giúp của một thiết bị như vậy, bạn có thể làm thẳng, gắn hai phần tử, uốn cong một phôi kim loại.
Lời khuyên hữu ích! Khi thực hiện một máy ép bằng tay của chính bạn, bạn cần quyết định về mục đích xa hơn của thiết bị, kích thước của nó, chỉ số piston, trọng lượng và khả năng lắp đặt đồng hồ áp suất.
Khi xây dựng một máy ép thủy lực cho một nhà để xe, hãy xem xét kích thước của chiếc xe của bạn. Đối với xe hạng nhẹ, chỉ cần cấu tạo đơn giản là đủ, còn đối với xe lớn thì nên chế tạo một đơn vị kích thước và phức tạp hơn.
Thiết bị thường được sử dụng như một máy ép giấy phế liệu. Với bàn tay của riêng bạn, bạn có thể tạo ra nhiên liệu tốt cho bếp từ giấy cũ. Với những mục đích như vậy, chỉ cần tạo ra một cấu trúc đơn giản với định mức công suất trung bình là đủ để cho phép xử lý một lượng lớn giấy vụn.
Thiết bị này cũng thích hợp để ép mùn cưa. Những viên than như vậy là nhiên liệu tốt để đun bếp, chúng cháy trong thời gian dài mà không tạo thành khói, tạo ra nhiệt mạnh. Thay vì mùn cưa, than vụn cũng thích hợp làm chất độn cho máy ép. Một đơn vị như vậy sẽ bao gồm một máy tính để bàn, một đế, một khung nguồn và một ổ đĩa.
Một kết quả tốt được đảm bảo bởi một máy ép tự tạo cho chai PET, giúp biến vật chứa thành các lớp gọn gàng. Dụng cụ thủy lực có thể được sử dụng như một dụng cụ nhặt cỏ khô. Trong trường hợp này, thiết kế được bổ sung bởi một khung khung làm bằng gỗ hoặc kim loại mà không có phần trên. Phần tử được cố định vào trán bằng dây buộc đặc biệt. Bạn cũng sẽ cần một phương tiện vận chuyển đón và vận chuyển.
Thiết kế máy ép tự chế từ giắc cắm
Trước khi tự tay chế tạo máy ép thủy lực, bạn nên tìm hiểu những yếu tố cấu thành nào được bao gồm trong thiết kế của nó.
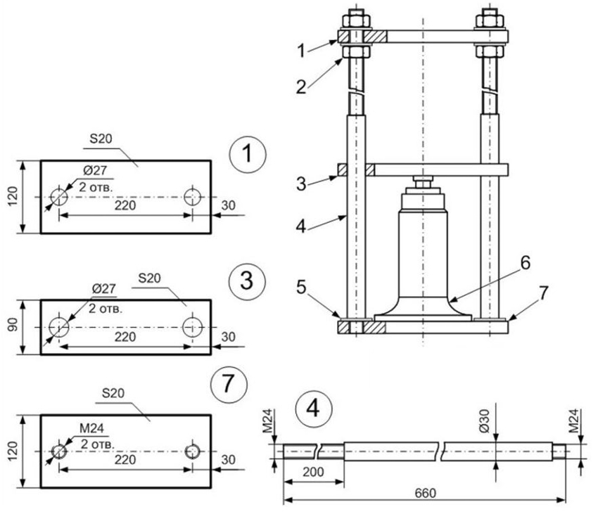
Đối với sự ổn định của thiết bị, cần phải có một chân đế vững chắc và đáng tin cậy, đóng vai trò là cơ sở lắp đặt. Nó trông giống như một cái bệ và được làm bằng kim loại cán dày. Đối với điều này, các kênh và góc kim loại được sử dụng chủ yếu.
Như có thể thấy từ sơ đồ máy ép, các phần dọc của cấu trúc được thể hiện bằng các giá đỡ. Các phần tử được làm bằng các góc thép và hàn vào đế theo cách đảm bảo góc vuông giữa các phần tử được đảm bảo. Chiều cao của giá đỡ được tính bằng tổng chiều cao của kích, chiều dài thanh của nó và chiều dày của phôi. Một điểm dừng cố định được cố định ở đầu các giá đỡ. Một góc được sử dụng để sản xuất nó.
Kích thủy lực được sử dụng để tạo ra lực cần thiết trên bề mặt làm việc. Nó sẽ cần được cố định vào một điểm dừng có thể di chuyển được. Kích được vận hành bằng cần tay hoặc ổ điện.

Chiều cao của các trụ bên phải tương ứng với tổng chiều dày của phôi, chiều cao của bản thân kích và chiều dài của thanh của nó
Điểm dừng di chuyển tạo áp lực lên cơ cấu ép. Phần tử được làm bằng các dải thép hoặc các góc. Một thiết bị quay trở lại được sử dụng để di chuyển điểm dừng về vị trí bình thường của nó. Nó được biểu diễn bằng một số lò xo. Chiều dài và độ giãn của chúng được tính toán dựa trên các thông số của máy ép.
Thiết bị ép nhà để xe tự chế: tính năng thiết kế
Trước khi thực hiện một máy ép thủy lực, bạn nên quyết định loại lắp đặt. Tùy thuộc vào điều này, thiết bị có thể đặt trên bàn hoặc đặt trên sàn. Loại công cụ đầu tiên được đặt trên bàn làm việc, và loại thứ hai được đặt trên một bệ đặc biệt. Các máy ép như vậy khác nhau về kích thước và công suất mang. Một máy ép thủy lực để bàn do-it-yourself cung cấp một lực lên đến 12 tấn, và đối với thiết bị đặt sàn, giá trị này lên tới 25 tấn.
Thiết kế mặt bàn ổn định và cơ động hơn. Do kích thước nhỏ gọn nên nó không chiếm nhiều dung lượng trống. Máy ép này được sử dụng để gia công các phôi nhỏ.
Máy ép sàn thủy lực có đặc điểm là kích thước lớn và trọng lượng nặng. Để cài đặt nó, bạn sẽ cần xây dựng một nền tảng đặc biệt. Một chiếc máy như vậy sẽ đối phó với việc gia công các phần tử kim loại lớn, tháo rời và lắp ráp các đơn vị phức tạp.
Quan trọng! Để mở rộng chức năng của máy ép thủy lực sàn, nó cần được trang bị động cơ điện.
Bạn có thể tạo ra một cấu trúc phức tạp sẽ được sử dụng cho nhiều nhiệm vụ. Tuy nhiên, việc sản xuất một tùy chọn như vậy sẽ mất nhiều thời gian và yêu cầu sử dụng các công cụ và thiết bị chuyên dụng. Là một máy ép thủy lực trong nhà để xe, tốt hơn nên làm một mô hình thủ công được trang bị một bơm thủy lực và truyền động. Thiết kế này là hai tốc độ, piston của nó được đặc trưng bởi tính di động.
Máy ép thủy lực tự chế cho nhà để xe có thể có thiết kế ngang hoặc dọc. Loại thiết bị đầu tiên được sử dụng để nắn, cắt và uốn các phần tử kim loại riêng lẻ. Thiết bị dọc được thiết kế để ép và ép các bộ phận. Máy ép giấy phế liệu thủy lực tự làm đang trở nên phổ biến.
Tính năng của máy ép thủy lực DIY
Một thiết kế tự tạo phải thực hiện danh sách các nhiệm vụ bắt buộc. Một thiết bị tạo ra một nỗ lực từ 15-25 tấn là đủ. Để thực hiện nó, bạn sẽ cần chuẩn bị bản vẽ hoạt động của máy ép thủy lực bằng tay của chính bạn từ một kích với kích thước của tất cả các phần tử kết cấu (sơ đồ như vậy có thể tìm thấy trên Internet). Trong trường hợp này, người ta nên tính đến loại dụng cụ, có thể cố định hoặc có thể tháo rời, kích thước của sản phẩm, hành trình piston và thiết kế của giường.
Xi lanh làm việc của máy ép thủy lực được đặt riêng biệt hoặc được xây dựng trong cơ cấu. Hơn nữa, nó có thể ở trên cùng hoặc dưới cùng. Trong trường hợp lựa chọn đầu tiên, áp lực sẽ được tác động lên bề mặt dưới của đế. Nếu phần tử làm việc nằm ở dưới cùng của giường, áp suất sẽ hướng lên trên do hoạt động của thân chính.
Kích được sử dụng như một xi lanh thủy lực, đóng vai trò là bộ phận làm việc chính. Cần lưu ý rằng công cụ này có thể được trình bày trong các phiên bản khác nhau.Do đó, khi chọn một jack cắm, cần phải quyết định máy ép sẽ được sử dụng cho mục đích gì và tính đến nỗ lực tối đa của thiết bị.
Tuy nhiên, hãy nhớ rằng dụng cụ công nghiệp dạng chai sẽ không hoạt động ngược. Vì vậy, trước khi thực hiện ép từ kích cần phải hoàn thiện sản phẩm. Thiết kế phải cung cấp việc lắp đặt một ổ cắm sẽ tiếp xúc với thanh xi lanh thủy lực. Để làm cho nó, bạn cần phải sử dụng một đoạn ống.
Vật liệu cho giường được lựa chọn với độ an toàn, điều này sẽ loại trừ hư hại cho khung khi tác dụng lực tối đa có thể. Sau khi hoàn thành nhiệm vụ gia công phôi, thanh truyền phải trở lại vị trí ban đầu. Để làm được điều này, cần phải chọn đúng lò xo dựa trên mức độ cứng, nhờ đó chúng sẽ có thể thực hiện hiệu quả mục đích của chúng. Các cạnh của chúng được gắn vào phần trên có thể di chuyển được và phần dưới cố định của đế.

Vật liệu cho giá đỡ và giường phải được lựa chọn với độ an toàn, điều này sẽ loại trừ thiệt hại cho máy ép khi có nhiều áp lực.
Tự tay bạn thiết kế máy ép thủy lực tự chế cho nhà để xe
Sau khi chọn kích, bạn nên bắt đầu thiết kế giường, kích sẽ được tạo áp lực bằng xi lanh thủy lực. Đối với điều này, một bản vẽ máy ép thủy lực tự làm được tạo ra. Và các kích thước trên đó được áp dụng cho từng phần tử riêng lẻ của thiết bị. Kết cấu phải chắc chắn, vì trong quá trình vận hành thiết bị, giắc cắm sẽ tạo áp lực cả hướng xuống và hướng lên, cố gắng phá vỡ khung.
Phần đế phải đảm bảo độ ổn định của thiết bị, giải pháp tốt nhất là thực hiện làm nền. Chiều rộng của bàn được xác định dựa trên kích thước của sản phẩm sẽ được xử lý trên máy ép. Tuy nhiên, nó không được nhỏ hơn tổng chiều rộng của tất cả các phần tử của thiết bị ép.
Chiều cao của giường được tính bằng tổng các kích thước của kích, giá trị chuyển động tự do của thanh, chiều cao của các bộ phận được gia công và chiều dày của bệ làm việc di động.
Giắc cắm được cố định vào đế. Phần trên của khung đóng vai trò là điểm nhấn cho sản phẩm. Với sự trợ giúp của một bàn di chuyển, áp suất được truyền đến bộ phận. Bề mặt được lắp đặt trên đầu giắc cắm trên giường, cùng với đó nó tự do di chuyển lên xuống với sự cố định ở hai bên.
Để đảm bảo điều chỉnh chuyển động tự do của thanh kích, có thể lắp đặt các tấm lót chèn có thể thay thế từ một thanh kim loại đặc hoặc rỗng. Một tùy chọn khác liên quan đến việc thực hiện một điểm dừng di động dưới dạng một bàn làm việc di chuyển. Nó phải được cố định vào giường bằng đai ốc và bu lông hoặc thanh. Để làm được điều này, cần phải tạo các lỗ trên khung có chiều cao nhỏ hơn phạm vi chuyển động của thanh kích.
Một giải pháp khác là tạo ra cái gọi là máy ép vít bằng tay của chính bạn bằng cách sử dụng vô lăng. Có thể giảm khe hở cho phôi bên trong khung bằng cách siết chặt vít với tấm.
Lời khuyên hữu ích! Để điều chỉnh chuyển động tự do của thân cây, tốt hơn là sử dụng kết hợp một số phương án trên.
Trình tự thực hiện việc tự làm từ một chiếc giắc cắm
Trước khi thực hiện máy ép bằng tay, bạn cần chuẩn bị máy hàn, điện cực, máy mài, máy khoan và các mũi khoan. Để hoàn thiện các yếu tố cấu trúc kim loại từ các gờ, bạn sẽ cần một máy chà nhám. Ở giai đoạn đầu tiên, khung ép được lắp ráp. Chất lượng và hiệu quả của quá trình làm việc phụ thuộc vào sức mạnh và độ tin cậy của nó. Giường sẽ chứa xi lanh làm việc (dạng kích) và phôi cần gia công.

Để sản xuất đế của việc lắp đặt, được thiết kế cho áp suất lên đến 5 tấn, cần có một kênh có kích thước tiêu chuẩn 8P
Vật liệu giường, thiết kế và biến thể lắp ráp của nó được xác định dựa trên áp lực cảm nhận của kích. Theo bản vẽ báo chí do-it-yourself, cơ sở của thiết bị được thể hiện bằng một khung hình chữ nhật hình chữ U làm bằng kênh hoặc thép hàn góc. Nỗ lực chính sẽ tập trung ở phần trung tâm của các thanh ngang. Đạt được độ ổn định tối đa có thể của kết cấu bằng cách hàn nó vào đế của một tấm kim loại có độ dày từ 08-1,2 cm.
Bài viết liên quan:
Máy ép thủy lực cầm tay: Tính năng của công cụ hiệu quả cao
Thiết bị và nguyên lý của dụng cụ. Các loại đồ đạc. Các lĩnh vực sử dụng máy ép thủy lực. Lựa chọn và quy tắc hoạt động.
Để sản xuất giường máy, được thiết kế chịu lực lên đến 5 tấn, bạn sẽ cần một kênh có kích thước tiêu chuẩn 8P và hai góc cán nóng 50x50 mm, được kết nối bằng đường hàn chắc chắn hoặc được kết nối bằng thanh sau mỗi 25 cm. 10P và các góc được ghép nối có kích thước 63x7 mm. Để sản xuất máy ép có lực nén yêu cầu từ 15 tấn trở lên, nên sử dụng kênh 14P và góc đôi có kích thước 75x8 mm.
Quan trọng! Khung làm bằng kim loại cán nói trên sẽ có độ an toàn gấp mười lần, góp phần vào hoạt động bình thường của thiết bị - mà không phá hủy khung.
Các tính năng của việc lắp ráp giường ép ga-ra bằng tay của chính bạn
Tất cả các phần tử cho khung được liên kết với nhau theo bản vẽ của máy ép thủy lực. Đầu tiên, cơ sở được lắp ráp, sau đó là các bộ phận bên và khung trên của khung. Điều quan trọng là phải giám sát việc tuân theo hình dạng hình học của kết cấu, trong đó tất cả các phần tử phải là các cạnh của một góc vuông.
Việc lắp ráp diễn ra bằng cách thực hiện các đường nối hai mặt một mảnh được hàn với các sản phẩm được cắt từ đầu đến cuối. Một giải pháp thay thế là sử dụng chốt cotter hoặc bu lông để lắp ráp các bộ phận. Khi làm như vậy, tải trọng cắt lớn nhất cho phép phải được tính đến. Với kết nối này, tải trọng chính sẽ được tập trung vào các kết nối bắt vít. Do đó, điều quan trọng là phải tính toán chính xác số lượng của chúng.
Tiếp theo, một thanh có thể di chuyển được làm cho máy ép rèn thủy lực tự chế. Đối với điều này, một ống vuông hoặc kênh được sử dụng. Ở phần trung tâm của nó, một đoạn ống được hàn, sau này sẽ dùng làm ổ cắm cho thân cây. Các thanh dẫn được làm bằng hai dải thép, chiều dài của chúng phải bằng chiều rộng bên ngoài của thân. Các phần tử được bắt vít vào các trụ bên của cấu trúc di động.
Một điểm dừng có thể tháo rời được thực hiện theo cách tương tự. Cần phải tạo lỗ trên các bộ phận dẫn hướng của nó để điều chỉnh độ cao của không gian làm việc. Ở công đoạn cuối cùng, kích và lò xo được lắp vào.
Làm thế nào để chuyển đổi một giắc bấm để hoạt động lộn ngược
Lựa chọn hợp lý nhất, được sử dụng làm xi lanh thủy lực cho máy ép tay tự làm, là một kích chai. Vấn đề chính của một công cụ như vậy là không có khả năng hoạt động lộn ngược. Trong trường hợp này, bạn có thể cố định công cụ cố định vào dầm trên. Trong trường hợp này, phần đế dưới cùng sẽ được sử dụng làm phần tử tham chiếu. Trước khi ép bằng tay, bạn cần phải tinh chỉnh lại cơ cấu thủy lực.
Có một số tùy chọn để thay đổi kích có thể được sử dụng khi lắp ráp máy ép thủy lực tự chế.Đầu tiên là việc lắp đặt thêm bình giãn nở 300 ml. Bình chứa phải được kết nối với lỗ nạp bằng ống silicon thông thường. Để phần tử được cố định chắc chắn, bạn phải sử dụng phụ kiện ống dẫn oxy, có thể mua ở bất kỳ cửa hàng phụ tùng ô tô nào.
Tùy chọn thứ hai để thay đổi giắc cắm liên quan đến việc tháo rời công cụ. Để làm điều này, hãy rút hết dầu khỏi nó và làm chảy máu pít-tông. Tiếp theo, đai ốc kẹp trên được xoắn bằng cách kẹp nó trong một cơ cấu. Sau đó, bạn cần nới lỏng kính bên ngoài bằng một vồ cao su. Phần tử phải ra khỏi vòng đệm, nằm ở chân của giắc cắm.
Sau cánh tay đòn có lỗ nạp chất lỏng. Nếu thủy tinh không được lấp đầy hoàn toàn ở vị trí đảo ngược của nó, thì lỗ không tiếp xúc với dầu. Đây là một vấn đề lớn khi sử dụng giắc bấm tự chế. Bạn có thể giải quyết nó bằng một cái ống, cái này sẽ được ép trên toàn bộ chiều dài của kính.
Giắc cắm có thể được để nguyên trong thiết kế ban đầu. Tuy nhiên, để đảm bảo khả năng hoạt động của kết cấu, cần phải lắp thêm một dầm thứ ba. Nó được gắn vào thành bên khá chặt, góp phần vào vị trí đứng yên của kích khi tạo lực ép. Dụng cụ được cố định ở vị trí ngược với phần trung tâm của dầm trên bằng bu lông M8 hoặc M10.
Cách tạo máy ép: chế tạo và lắp đặt miếng đệm áp lực
Các phôi lớn cần diện tích dầm nén lớn. Thanh kích trong trường hợp này sẽ không cung cấp điều này, vì trong quá trình ép, lực phải được phân bố đều trên toàn bộ diện tích bề mặt được xử lý, loại trừ sự hình thành các biến dạng.
Là miếng đệm áp lực cho máy ép thủy lực tự chế tạo cho nhà để xe, bạn có thể sử dụng các thỏi toàn thân, trong đó các lỗ mù có ren được tạo, nhờ đó các phần tử được cố định vào cấu trúc máy ép.
Lựa chọn tốt nhất là tự làm các miếng ép có giắc cắm. Để làm điều này, bạn có thể mua bốn miếng một góc kim loại hoặc hai kênh. Các phần tử được sử dụng để tạo ra một mặt song song với các mặt bên mở. Các khu vực mông cảm nhận lực chính nên được hàn từ bên trong với một đường may liên tục. Những chỗ còn lại được hàn bên ngoài.
Một trong các mặt phải được cắm bằng một miếng chèn vuông, và hốc bên trong phải được đổ vữa bê tông M500. Sau khi dung dịch đông đặc, khối này được hàn ở phía bên kia. Như vậy, có hai yếu tố không thể nén được.
Một giắc cắm với một thanh được gắn vào khối trên. Đối với điều này, một lỗ mù được tạo ra, nơi gót của dụng cụ được đưa vào với khoảng hở tối thiểu. Các lỗ cũng được làm ở đây để sửa chữa cơ chế lò xo hồi vị. Khối dưới cùng được gắn vào chùm điều chỉnh. Để có độ tin cậy cao hơn và hạn chế sự dịch chuyển, một cặp góc của thanh kim loại được hàn vào nó.
Lắp đặt một dầm đỡ có thể di chuyển của cơ cấu quay trở lại cho máy ép thủy lực tự chế
Dầm dưới và dầm trên phải có cùng mặt cắt. Các yếu tố chỉ khác nhau về thiết kế. Để làm cho phần tử hỗ trợ thấp hơn, hai kênh được sử dụng, nên được quay với xương sườn của chúng hướng ra ngoài. Chúng phải được áp dụng trên các mặt khác nhau so với các trụ và hàn vào phần trung tâm của chúng bằng cách sử dụng các miếng chèn từ các góc hoặc cốt thép dày.
Việc cố định dầm trên giá đỡ được thực hiện bằng các chốt thép lớn. Dưới chúng, một loạt các hom tròn phải được thực hiện ở các độ cao khác nhau với vị trí song song theo chiều dọc. Đường kính của các lỗ phải phù hợp với tiết diện của bu lông.
Một yếu tố cấu trúc khác của máy ép thủy lực tự chế là cơ cấu lò xo, nhờ đó kích trở về vị trí ban đầu của nó khi van rẽ nhánh được mở. Đối với điều này, bạn có thể sử dụng lò xo hoàn thiện cửa đơn giản có sẵn từ cửa hàng phần cứng của bạn.

Lò xo được sử dụng để hoàn thiện cửa đảm bảo hoạt động của chùm hỗ trợ có thể đặt lại của cơ cấu quay trở lại
Nhiệm vụ phức tạp bởi chùm áp suất phía trên, có trọng lượng đáng kể, do đó lò xo có thể không bị nén. Bạn có thể thoát khỏi tình huống này bằng cách tăng số lượng bộ phận lò xo lên 4-6 cái, điều này có thể chấp nhận được đối với máy ép thủy lực bàn tự làm. Bạn cũng có thể sử dụng các yếu tố mạnh mẽ hơn được thiết kế cho cửa, phù hợp hơn cho việc lắp đặt sàn.
Nếu thiếu khối trên thì lò xo được gắn vào thanh kích. Việc cố định được thực hiện bằng cách sử dụng vòng đệm, có lỗ khoan bên trong lớn hơn vít điều chỉnh thân nhưng nhỏ hơn đường kính piston. Lò xo phải được gắn chặt bằng hai lỗ nhỏ bên ngoài với cố định vào dầm trên theo cách tương tự. Lò xo có thể không được lắp đặt đúng theo chiều dọc. Chiều dài phần tử vượt quá có thể được bù đắp bằng cách sắp xếp nghiêng của nó.
Lời khuyên hữu ích! Móc hàn cũng có thể được sử dụng để cố định lò xo.
Tính năng tạo máy ép dầu thủy lực bằng tay của chính bạn
Máy ép kích tự chế có thể được sử dụng như một thiết bị ép dầu. Tuy nhiên, trong sản xuất của nó, nó là cần thiết để cung cấp cho một số tính năng thiết kế.
Một tấm kim loại phải được gắn vào thanh ngang phía trên của khung. Nó sẽ dễ dàng di chuyển dọc theo các thanh dẫn khi tác động lên trục vít me. Cơ chế này giúp kiểm soát khe hở giữa khối kẹp và vật liệu được xử lý.
Bu lông được sử dụng để cố định khối di động có thể tháo rời của máy ép tự chế từ kích. Chúng được lắp vào các lỗ tạo sẵn ở một cao độ cụ thể, được xác định bởi quá trình làm việc. Tuy nhiên, khoảng cách giữa các lỗ không được vượt quá lượng chuyển động tự do của thanh kích thủy lực. Các phần tử kẹp được làm bằng kim loại có độ dày khác nhau và có thể tháo rời. Sử dụng công nghệ này, bạn cũng có thể tạo máy ép giấy bằng tay của chính mình.
Lời khuyên hữu ích! Việc cố định chùm áp lực vào thanh dẫn có thể được thực hiện bằng các ngón tay làm bằng kim loại bền, đường kính của nó được chọn dựa trên kích thước của thân và lực tác dụng trong quá trình vận hành của thiết bị.
Cách sử dụng kích thủy lực: đặc điểm thiết kế
Thông thường, một máy ép tự chế được làm từ một kích thủy lực. Điều này là do các tính năng thiết kế của sản phẩm và nguyên tắc hoạt động của nó, dựa trên quy luật thủy lực.
Một pít-tông nằm trong xi lanh kích. Bên trên nó hoặc trong một bể chứa riêng biệt là chất lỏng làm việc ở dạng dầu khoáng. Kích thủy lực được dẫn động bởi một máy bơm nhỏ bơm dầu qua van xả phía trên piston. Lực được giảm thiểu do sự khác biệt giữa đường kính của pít tông và thùng dụng cụ.Chất lỏng làm việc nằm phía trên piston sẽ đẩy nó ra ngoài, giúp nâng tải nằm phía trên nó.
Để hạ dụng cụ, bạn cần biết cách sử dụng kích thủy lực. Để làm điều này, chảy từ từ dầu vận hành từ dưới pít-tông vào bình chứa hoặc vào đầu xi lanh. Với mục đích này, van giảm áp đầu tròn có vai được sử dụng, van này phải được nới lỏng.
Trong quá trình vận hành thiết bị, một số khó khăn nhất định có thể phát sinh do mức dầu trong thiết bị không đủ. Để khắc phục sự cố, điều quan trọng là bạn phải biết cách tự lắp kích thủy lực bằng tay của mình. Để thực hiện việc này, hãy tháo phích cắm trên thân dụng cụ và lắp một ống mềm vào lỗ để đổ đầy bình chứa đến thể tích yêu cầu. Vào cuối quá trình, kích được bơm.
Các tính năng của máy ép thủy lực điện tự làm
Bạn có thể độc lập không chỉ chế tạo một máy ép thủy lực bằng tay mà còn một thiết bị được trang bị ổ điện. Một thiết bị như vậy có khả năng phát triển những nỗ lực to lớn, giúp mở rộng chức năng của thiết bị và tăng hiệu quả của nó.
Nguyên lý hoạt động của máy ép thủy lực tự chế có dẫn động điện như sau. Bơm thủy lực được điều khiển bởi một động cơ được kết nối với nguồn điện. Đổi lại, bơm thủy lực giúp duy trì áp suất cần thiết của chất lỏng làm việc trong buồng ép đầu tiên. Piston đảm bảo việc truyền áp suất đến bình chứa thứ hai của máy ép, nơi nó tăng lên vài lần. Do đó, lực kết quả được truyền từ xi lanh thứ hai đến vật liệu đang được xử lý.
Quan trọng! Độ lớn của lực truyền đến phôi sẽ phụ thuộc vào tỷ lệ diện tích của các piston trong cả hai xi lanh.
Với động cơ điện, bạn có thể tự tay mình tạo ra cả máy ép thủy lực đặt sàn và đặt bàn. Cả hai tùy chọn sẽ khác nhau về kích thước và giá trị của lực tác động lên phôi đang được gia công. Đối với các thiết bị đặt trên bàn, nó không vượt quá 20 tấn và đối với các thiết bị đặt trên sàn - 100 tấn.
Máy ép thủy lực tự làm với động cơ điện
Quá trình sản xuất thiết bị bắt đầu bằng bản vẽ máy ép thủy lực tự làm với ứng dụng của tất cả các phần tử kết cấu và chỉ dẫn kích thước của chúng.
Khung kết cấu phải chịu được tải trọng đáng kể, vì vậy nó phải được làm bằng vật liệu bền. Giải pháp tốt nhất là sử dụng dầm chữ T sẽ không bị uốn cong dưới máy ép thủy lực.
Khung được thể hiện bằng một chiếc giường hình chữ U, được lắp đặt trên một đế từ các góc hoặc rãnh mỏng hơn. Ở phần trung tâm của khung theo chiều cao, cần phải lắp đặt nền tảng làm việc từ kênh có tường dày bằng cách hàn.
Bước tiếp theo trong quá trình tự chế máy ép thủy lực bằng tay là lắp xi lanh thủy lực lên giường, việc này được thực hiện theo một trình tự nhất định. Để đảm bảo bơm thủy lực được gắn chặt đáng tin cậy, nó phải được cố định vào một tấm kim loại bằng cách sử dụng mặt bích. Bản thân tấm được gắn trên khung I-dầm.
Mặt bích có thể được làm từ một trung tâm ô tô bằng cách quay nó trên máy tiện. Trong tấm kim loại để lắp xylanh thủy lực, bạn cần hàn một con trùm tròn để cố định máy tiện trong mâm cặp. Sau khi doa lỗ, tấm được hàn vào đế của khung.
Một mặt bích với lỗ khoan yêu cầu được đặt trên xi lanh thủy lực và hàn theo hình tròn. Để đảm bảo độ tin cậy của thiết bị, người ta phải chế tạo và gắn chặt một mặt bích khác vào phần trên của xi lanh thủy lực, hàn nó vào các dầm.
Quan trọng! Mặt bích và xi lanh thủy lực phải được hàn với nhau càng đồng đều càng tốt, do đó bề mặt của mặt thứ nhất được gia công trước trên máy tiện.
Một tấm kim loại với dầm hàn được cố định vào giường bằng cách hàn. Các lỗ để xiết bu lông được làm trong đó. Để đảm bảo máy ép hoạt động bình thường, cần lắp đặt một trạm dầu bằng cách kết nối nó với xi lanh thủy lực bằng các ống mềm.
Tự sửa chữa máy ép thủy lực từ một kích
Để duy trì hoạt động lâu dài của máy ép thủy lực, được chế tạo trên cơ sở kích, một thiết bị ngẫu hứng cần vận hành và bảo dưỡng thích hợp. Trong quá trình vận hành, cần theo dõi mức dầu trong xi lanh thủy lực, bôi trơn các bộ phận chuyển động, kiểm tra tình trạng của các khớp làm kín, độ tin cậy của việc bắt chặt các chi tiết lắp ráp.

Để duy trì hiệu suất của máy ép, cần theo dõi mức dầu trong xi lanh thủy lực, kiểm tra độ tin cậy của việc bắt chặt các chi tiết và bôi trơn các bộ phận chuyển động
Tuy nhiên, bất kỳ cơ cấu nào cũng có thể hoạt động sai, đó là nguyên nhân của hoạt động không đúng hoặc mài mòn các bộ phận kết cấu riêng lẻ. Nếu máy ép thủy lực do chính tay bạn tạo ra đã dừng hoặc không khởi động, bạn nên kiểm tra mức dầu trong xi lanh thủy lực. Nếu khối lượng của nó không đủ, cần phải lấp đầy thùng chứa bằng lần bơm tiếp theo của kích.
Nếu quan sát thấy rò rỉ chất lỏng, điều này cho thấy sự hư hỏng cơ học đối với cấu trúc hoặc sự cố của các phần tử riêng lẻ của nó. Để loại bỏ khuyết tật, cần phải tháo rời giắc cắm, kiểm tra tất cả các bộ phận của nó xem có bị ăn mòn không. Thân cây được kiểm tra độ biến dạng. Các phần tử bị hư hỏng nên được thay thế bằng các phần tử mới. Dầu vận hành phải được xả hoàn toàn. Khoang bên trong của kích và tất cả các bộ phận của nó được rửa bằng dầu hỏa và làm khô. Các gioăng, gioăng cũ phải được thay thế bằng gioăng mới.
Các sự cố khác của máy ép xi lanh thủy lực DIY
Nếu không đủ mức độ nỗ lực của máy ép thủy lực bằng tay, được thực hiện bằng tay của bạn hoặc cơ chế hoạt động không liên tục, sự cố như vậy có thể xảy ra với sự xâm nhập của không khí vào khoang của kích, ảnh hưởng tiêu cực đến hoạt động của piston. Để sửa chữa các hư hỏng, chất lỏng làm việc phải được bổ sung vào xi lanh bằng cách loại bỏ không khí qua các ống.
Áp suất thấp của cơ chế được giải thích là do van bị dịch chuyển ra khỏi các ngăn, bị bẩn hoặc lò xo trong đó bị yếu đi. Trong hai trường hợp đầu tiên, phần tử được sửa chữa hoặc thay thế. Van được làm sạch bằng khăn ẩm, sau đó làm khô phần tử. Trong trường hợp bị nhiễm bẩn nặng, cơ cấu được rửa bằng dầu hỏa hoặc xăng và làm khô bằng khí nén. Nếu lý do nằm ở sự mòn của lò xo, chúng phải được thay thế bằng các phần tử mới.
Quan trọng! Nếu thân kích hoặc piston bị hỏng, cần phải thay thế hoàn toàn cơ cấu, không thể sửa chữa được.
Sau khi tháo rời kích để tiến hành công việc sửa chữa, cơ cấu phải được lắp ráp trong những điều kiện nhất định. Các van phải vừa khít với ghế. Điều cần thiết là phải có đủ lượng chất lỏng trong xi lanh thủy lực. Không được có không khí trong hệ thống.
Máy ép thủy lực là một thiết bị đa chức năng, linh hoạt có thể được sử dụng để giải quyết các công việc khác nhau khi cần nỗ lực.Bạn có thể mua dụng cụ này ở cửa hàng chuyên dụng hoặc bạn có thể tự chế máy ép từ kích thủy lực, sẽ tiết kiệm tiền hơn. Đối với điều này, điều quan trọng là phải chọn đúng vật liệu và tuân thủ thuật toán lắp ráp các phần tử.






















